- Partiron
- OEM Parts
- Yamaha
- motorcycle
- 1994
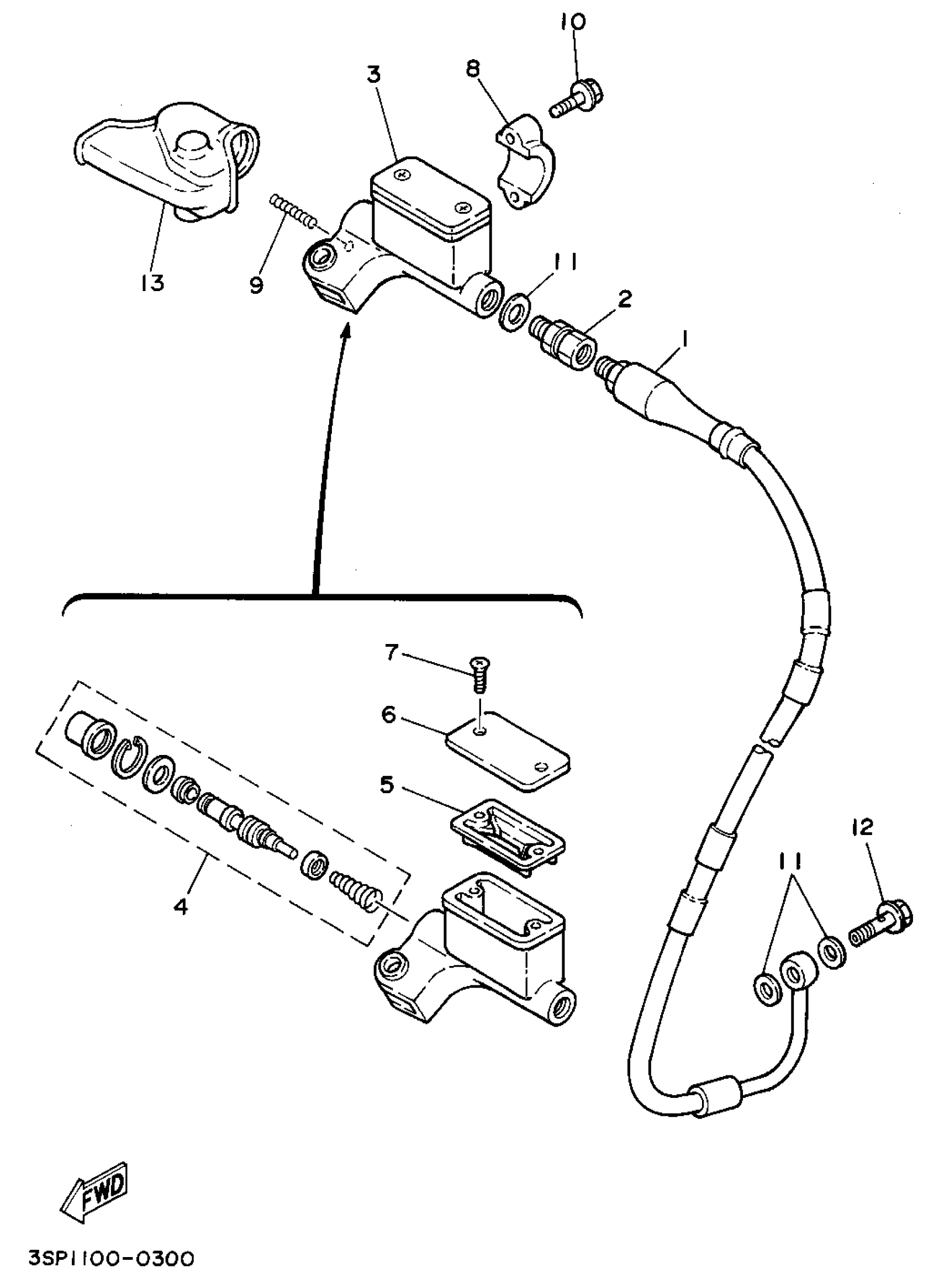
- WR250ZF (WR250Z) 4JW1 1994
FRONT MASTER CYLINDER
Yamaha WR250ZF (WR250Z) 4JW1 1994 FRONT MASTER CYLINDER Diagram
#
Description
Price
1
HOSE,BRAKE1
4MX-25872-00-00
Unavailable
11
WASHER, PLATE(481)
90201-10118-00
Unavailable
