- Partiron
- OEM Parts
- Yamaha
- motorcycle
- 2008
- WR250FX (WR250FX) 5UMH 2008
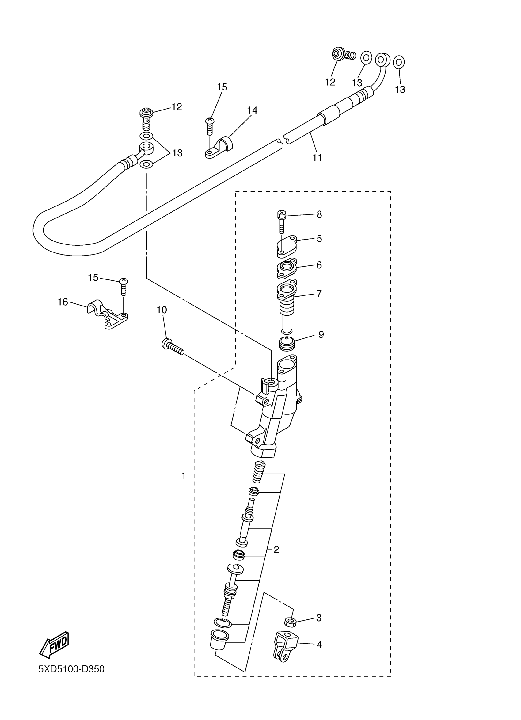
REAR MASTER CYLINDER
Yamaha WR250FX (WR250FX) 5UMH 2008 REAR MASTER CYLINDER Diagram
#
Description
Price
16
HOLDER, BRAKE HOSE 2
1C3-25876-50-00
Unavailable
