- Partiron
- OEM Parts
- Yamaha
- motorcycle
- 2007
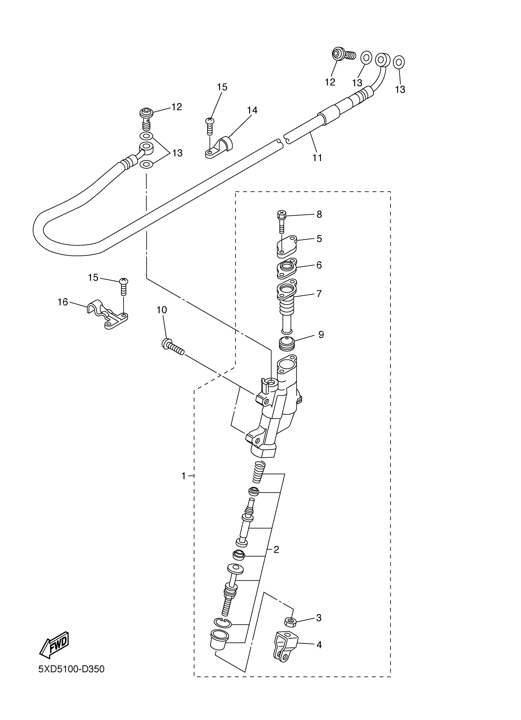
- WR250FW (WR250F) 5UME 2007
REAR MASTER CYLINDER
Yamaha WR250FW (WR250F) 5UME 2007 REAR MASTER CYLINDER Diagram
#
Description
Price
16
HOLDER, BRAKE HOSE 2
1C3-25876-50-00
Unavailable
