- Partiron
- OEM Parts
- Yamaha
- motorcycle
- 2024
- WR250FR1 (WR250F) BAKL 2024
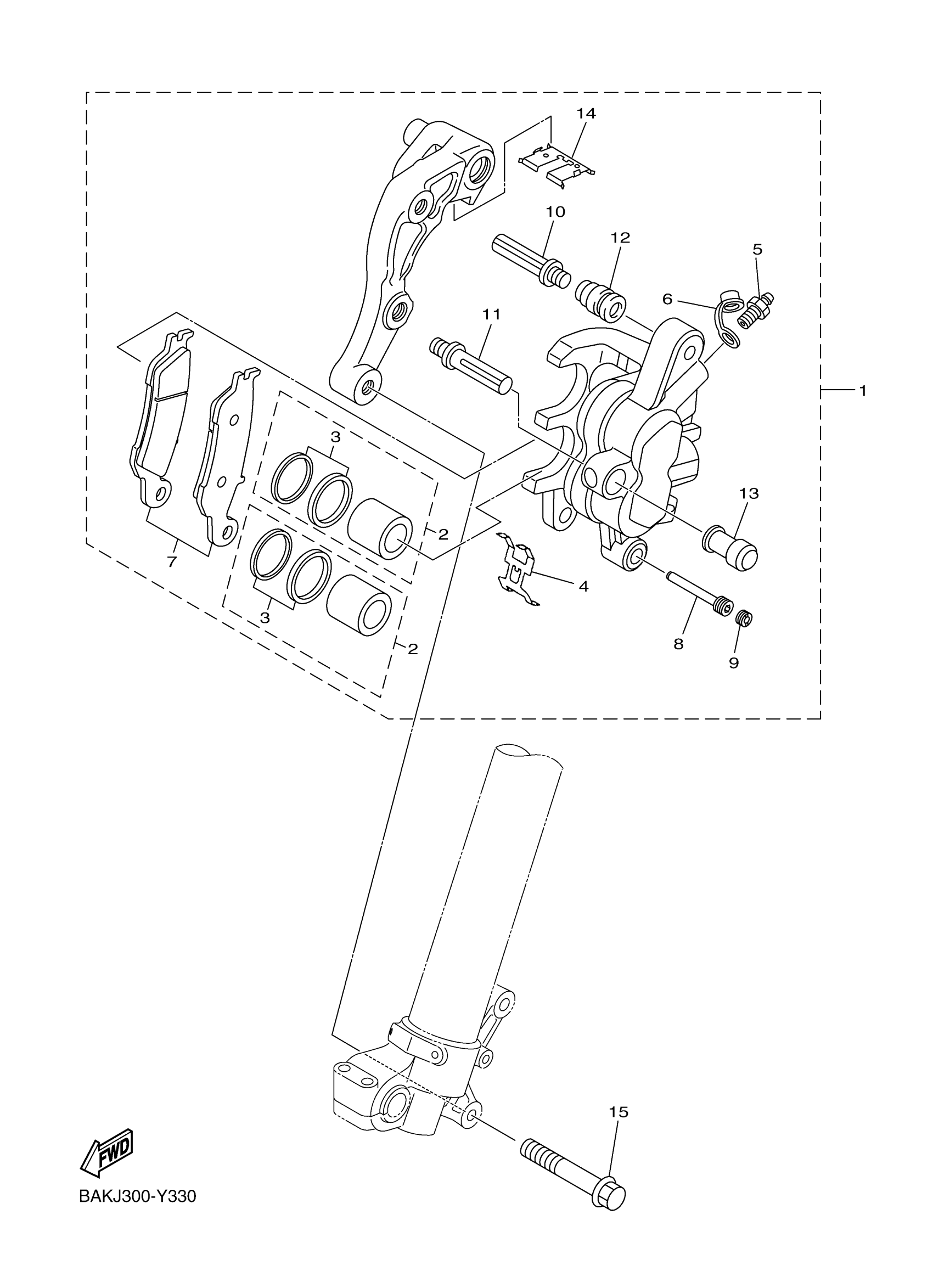
FRONT BRAKE CALIPER
Yamaha WR250FR1 (WR250F) BAKL 2024 FRONT BRAKE CALIPER Diagram
#
Description
Price
FRONT BRAKE CALIPER
#
Edit ride
