- Partiron
- OEM Parts
- Yamaha
- motorcycle
- 2024
- WR250FR1 (WR250F) BAKL 2024
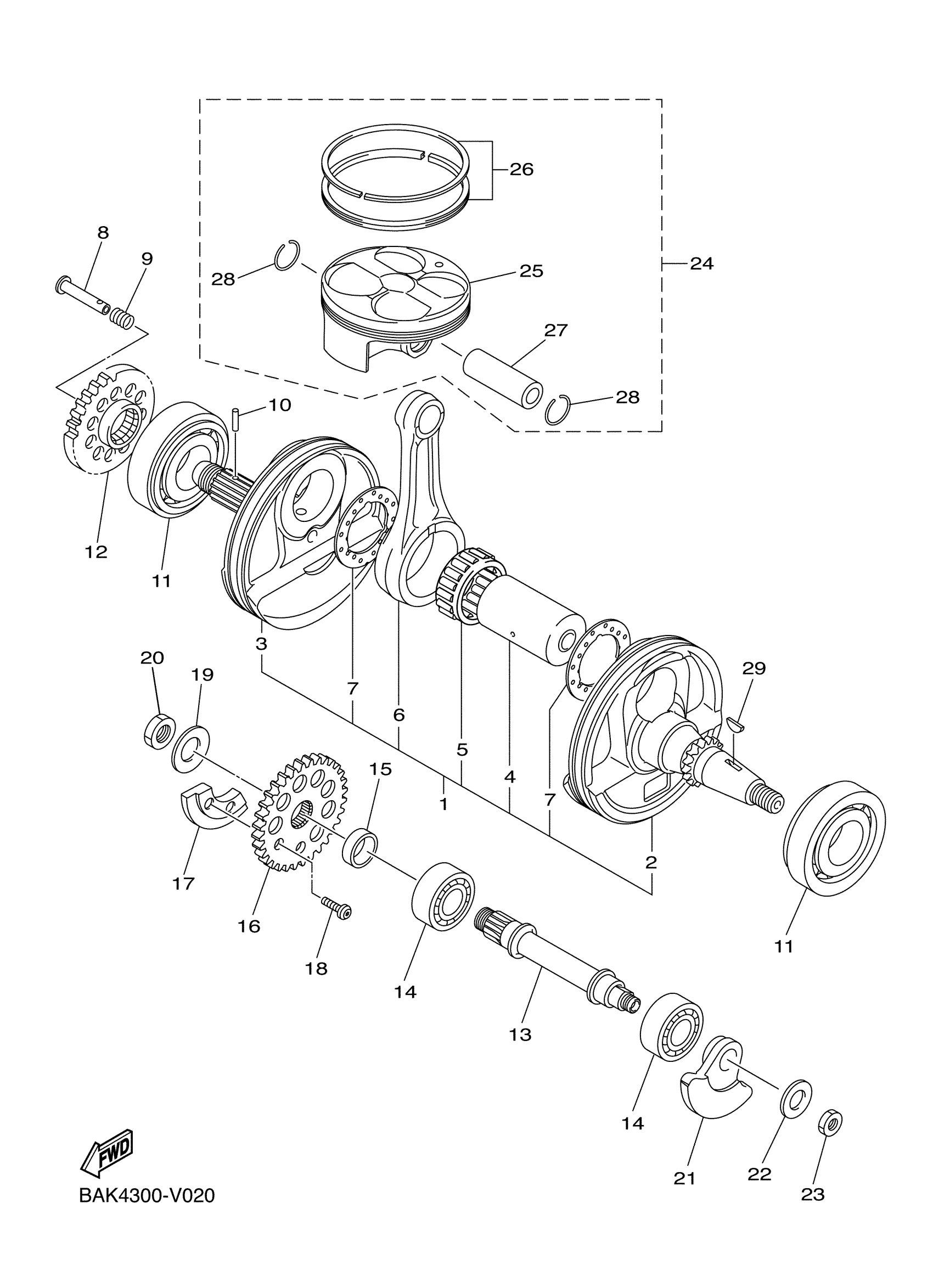
CRANKSHAFT & PISTON
Yamaha WR250FR1 (WR250F) BAKL 2024 CRANKSHAFT & PISTON Diagram
#
Description
Price
2
CRANK 1
B7B-11412-02-00
Unavailable
3
CRANK 2
B7B-11422-02-00
Unavailable
13
SHAFT 1
1SM-11455-10-00
Unavailable
15
COLLAR
90387-175R2-00
Unavailable
16
GEAR, BALANCE WEIGHT
1SM-11531-00-00
Unavailable
17
WEIGHT 1
1SM-11454-00-00
Unavailable
18
SCREW
90149-06084-00
Unavailable
19
WASHER, CONICAL SPRING
90208-14033-00
Unavailable
20
NUT, HEXAGON
90170-14171-00
Unavailable
21
WEIGHT 2
1SM-11464-00-00
Unavailable
22
WASHER, CONICAL SPRING
90208-10001-00
Unavailable
23
NUT
90170-10012-00
Unavailable
24
PISTON ASSY
B7B-116A0-20-00
Unavailable
25
PISTON (STD)
B7B-11631-00-00
Unavailable
26
PISTON RING SET (STD)
1SM-11603-01-00
Unavailable
27
PIN, PISTON
1SM-11633-30-00
Unavailable
28
CIRCLIP(1AR)
93450-17129-00
Unavailable
29
KEY, WOODRUFF
90280-03006-00
Unavailable
