- Partiron
- OEM Parts
- Yamaha
- motorcycle
- 2023
- WR250FP2 (WR250F) BAKG 2023
RADIATOR & HOSE
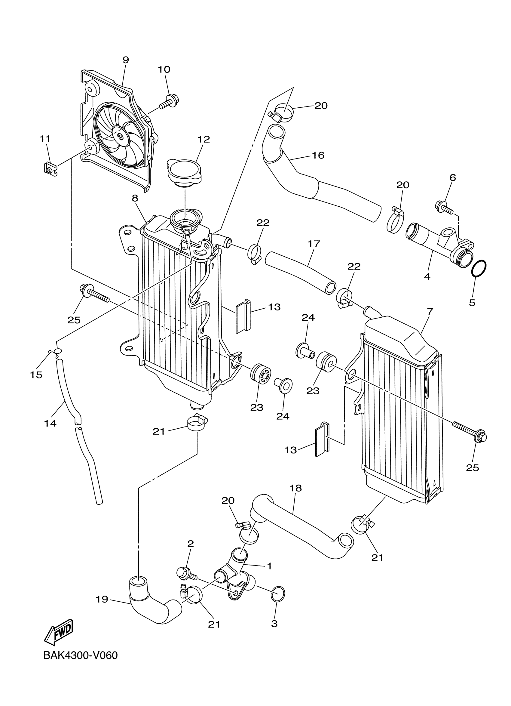
Yamaha WR250FP2 (WR250F) BAKG 2023 RADIATOR & HOSE Diagram
#
Description
Price
5
. O-RING
93210-16275-00
Unavailable
16
HOSE 1
B7B-12576-00-00
Unavailable
17
HOSE 2
BR9-12577-00-00
Unavailable
18
HOSE 3
B7B-12578-00-00
Unavailable
19
HOSE 4
B7B-12579-01-00
Unavailable
20
HOSE CLAMP ASSY
90450-28001-00
Unavailable
21
HOSE CLAMP ASSY(64X)
90450-22M14-00
Unavailable
22
HOSE CLAMP ASSY
90450-18M09-00
Unavailable
23
GROMMET
90480-15012-00
Unavailable
24
COLLAR
90387-06065-00
Unavailable
25
BOLT, WITH WASHER
90119-06262-00
Unavailable
