- Partiron
- OEM Parts
- Yamaha
- motorcycle
- 2023
- WR250FP2 (WR250F) BAKG 2023
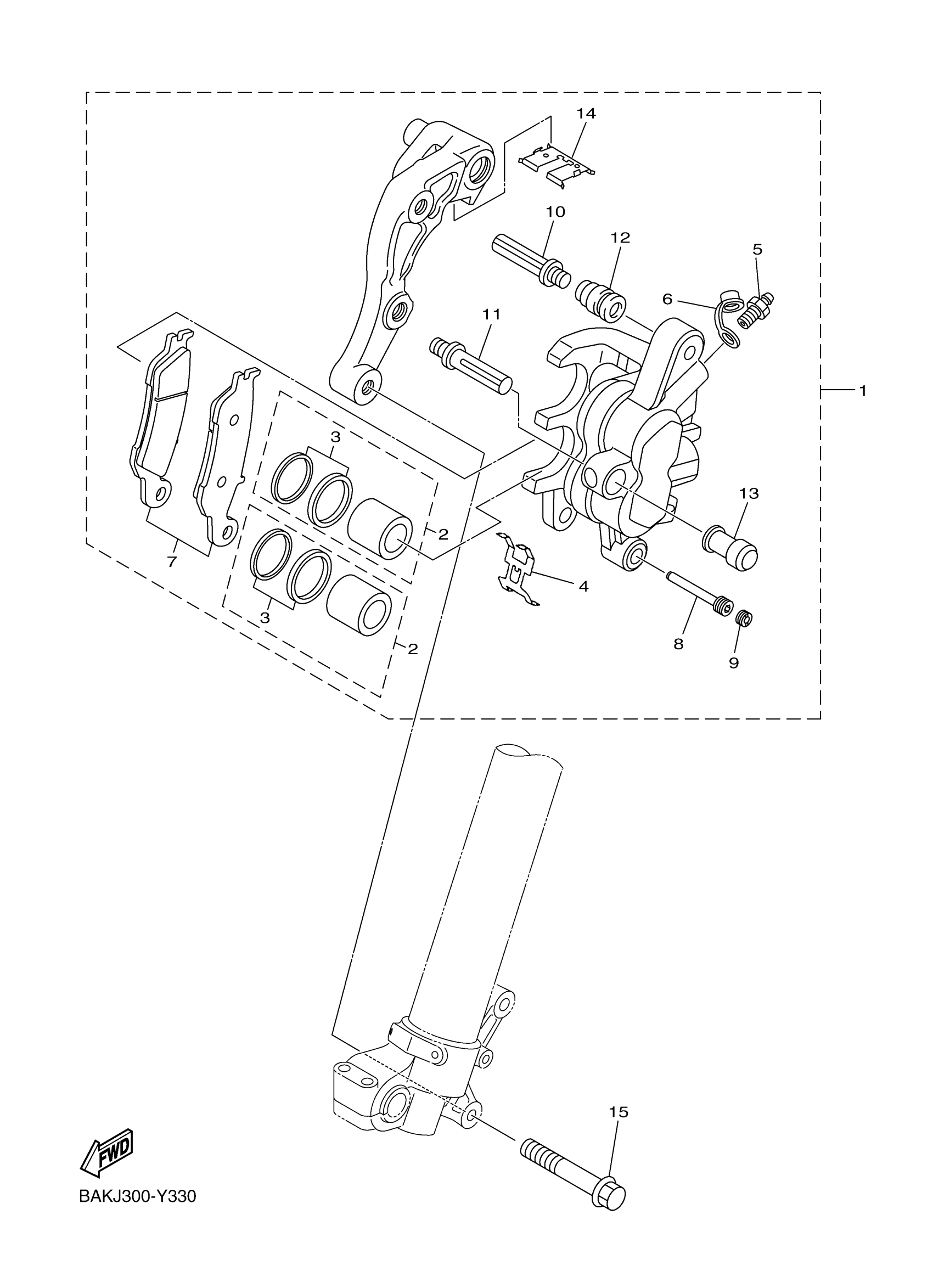
FRONT BRAKE CALIPER
Yamaha WR250FP2 (WR250F) BAKG 2023 FRONT BRAKE CALIPER Diagram
#
Description
Price
FRONT BRAKE CALIPER
#
Edit ride
