Partiron

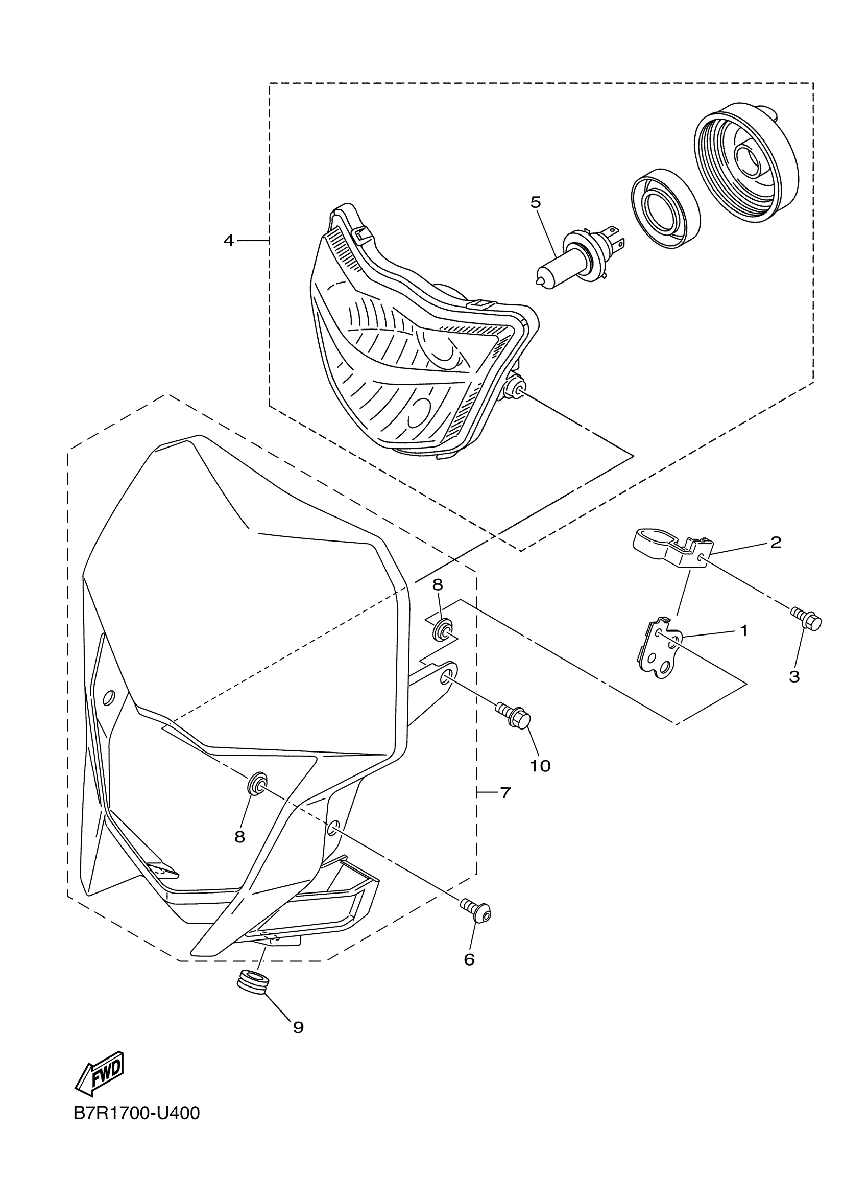
Yamaha WR250FL (WR250F) BAK2 2020 HEADLIGHT Diagram

#

Description
Price

1

STAY, HEAD LIGHT 1

B7R-2831V-00-00

$9.49

2

GUIDE, CABLE

B7R-2331E-00-00

$7.49

3

BOLT, FLANGE

90105-05028-00

$3.13

4

HEADLIGHT ASSY

2GB-84300-01-00

$175.99

5

BULB, HEADLIGHT (1

5ST-H4314-10-00

$29.99

6

BOLT,HEX. SOCKET BUTTON

90111-06127-00

$8.49

7

BODY ASSY

B7R-84330-00-00

Unavailable

8

COLLAR

90387-06009-00

$10.49

9

GROMMET

90480-12020-00

$9.49

10

BOLT, FLANGE

90105-06064-00

$3.81