Partiron

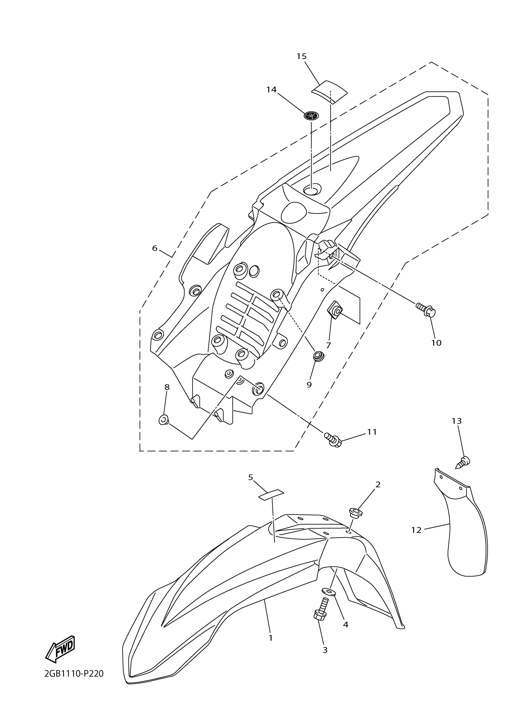
Yamaha WR250FG (WR250F) 2GB6 2016 FENDER Diagram

#

Description
Price

1

FENDER, FRONT

17D-21511-50-00

$32.99

2

COLLAR

90387-06259-00

$8.49

3

BOLT, FLANGE

90105-06127-00

$8.49

4

WASHER, PLATE

90201-06108-00

$4.61

5

LABEL, CAUTION

3FB-2415E-02-00

$4.84

6

REAR FENDER COMP.

2GB-21610-01-00

$60.99

7

NUT, REAR FENDER

5XE-21635-10-00

$13.49

8

COLLAR

5BE-21749-00-00

$6.99

9

COLLAR

90387-08086-00

$7.49

10

BOLT, FLANGE

90105-06100-00

$7.49

11

BOLT, WITH WASHER

90119-06268-00

$2.28

12

GUARD, FLAP

3D7-21642-00-00

$28.99

13

SCREW, TAPPING

97702-60016-00

$2.19

14

TUNING FORK MARK

5FK-2175C-31-00

$5.49

15

LABEL, CAUTION

5PA-2118K-01-00

Unavailable