- Partiron
- OEM Parts
- Yamaha
- waverunner
- 1987
- WJ500H (WAVE JAMMER) 1987
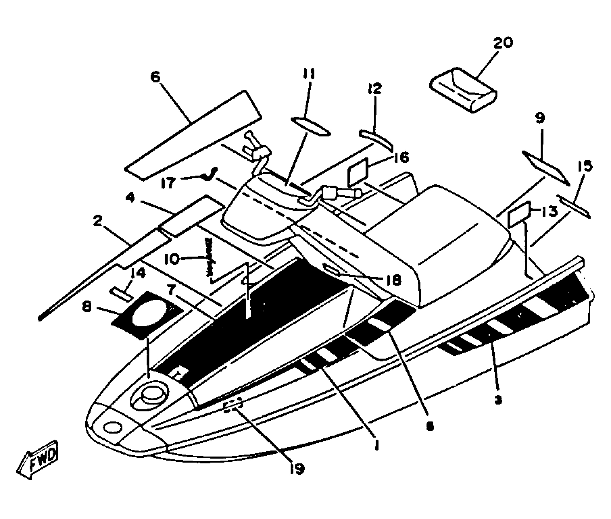
GRAPHIC TOOL
Yamaha WJ500H (WAVE JAMMER) 1987 GRAPHIC TOOL Diagram
#
Description
Price
1
GRAPHIC A (LH)
EW3-64173-10-00
Unavailable
2
UNAVAILABLE IN PRICE BOOK
EW3-65173-20-00
Unavailable
3
GRAPHIC B (LH)
EW3-64174-10-00
Unavailable
4
GRAPHIC C (RH)
EW3-64175-20-00
Unavailable
5
GRAPHIC C (LH)
EW3-64175-10-00
Unavailable
6
GRAPHIC B (RH)
EW3-64174-20-00
Unavailable
7
GRAPHIC D
EW3-64194-00-00
Unavailable
8
GRAPHIC E
EW3-64195-00-00
Unavailable
9
MARK, YAMAHA A
EU0-64114-00-00
Unavailable
10
EMBLEM A
EW3-64121-00-00
Unavailable
11
PLATE A
EW3-64953-00-00
Unavailable
12
PLATE B
EW3-64954-01-00
Unavailable
13
LABEL, CAUTION 1
EW3-64183-00-00
Unavailable
14
LABEL, CAUTION 3
EW3-64183-40-00
Unavailable
15
LABEL, CAUTION 4
EU0-64183-50-00
Unavailable
16
LABEL,CAUTION 5
EW2-64183-60-00
Unavailable
17
LABEL, CAUTION 6
EU0-64183-70-00
Unavailable
18
LABEL,CAUTION 8
EW2-64183-90-00
Unavailable
18
LABEL,CAUTION 8
EW2-64183-90-00
Unavailable
19
LABEL, CAUTION 9
EW3-64183-A0-00
Unavailable
19
LABEL, CAUTION 9
EW3-64183-A0-00
Unavailable
20
TOOL SET
EU0-65986-13-00
Unavailable
20
TOOL SET
EU0-65986-13-00
Unavailable
