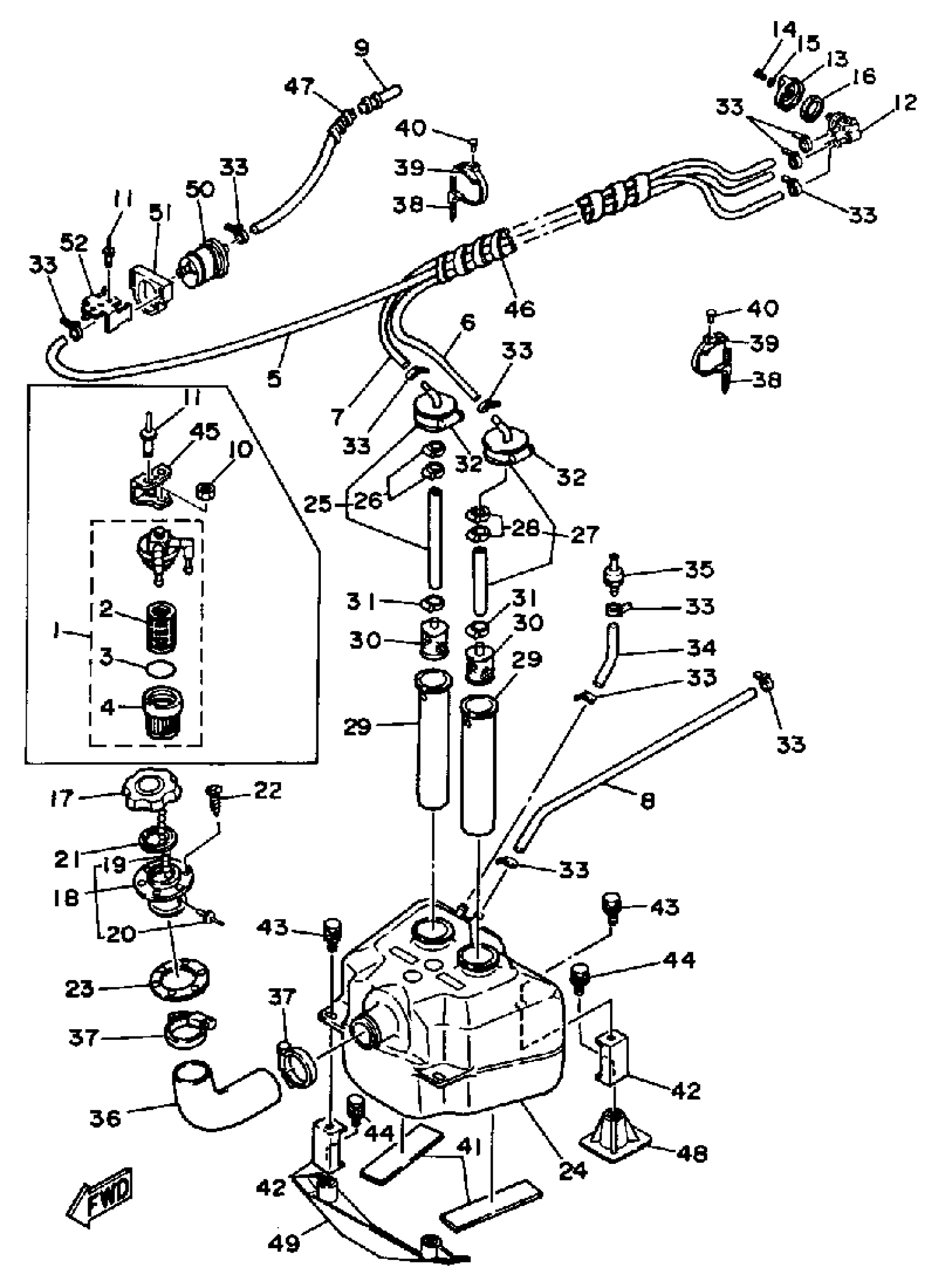
Yamaha WJ500F (WAVE JAMMER) 1989 FUEL TANK Diagram
#
1
FILTER ASSY
61N-24560-10-00
Unavailable
2
. ELEMENT, FILTER
6F5-24563-00-00
Unavailable
3
. O-RING
93210-37M25-00
Unavailable
4
. CUP, FILTER
655-24521-01-00
Unavailable
5
HOSE (6K8)
90445-10M12-00
Unavailable
6
HOSE (6K8)
90445-10M10-00
Unavailable
7
HOSE (L1700)
90445-10M87-00
Unavailable
8
HOSE (L400)
90445-10M43-00
Unavailable
9
HOSE (6K8)
90445-10M13-00
Unavailable
10
. NUT, SELF-LOCKING
95720-08300-00
Unavailable
11
RIVET, BLIND
90267-48934-00
Unavailable
12
FUEL COCK ASSY 1
6K8-24500-03-00
Unavailable
13
LEVER, COCK
6K8-24524-10-00
Unavailable
16
NUT
90170-22M11-00
Unavailable
17
CAP, FUEL FILLER
EU0-67831-32-00
Unavailable
18
SOCKET
EU0-W6783-01-00
Unavailable
19
. CHAIN BALL
EU0-67835-00-00
Unavailable
20
. RIVET, BLIND
90267-40935-00
Unavailable
21
PACKING 1
EU0-67832-00-00
Unavailable
22
SCREW, FLAT HEAD TAPPING
EU0-U7869-00-00
Unavailable
23
PACKING, FUEL FILLER
EU0-67834-00-00
Unavailable
24
FUEL TANK
EW3-67711-01-00
Unavailable
25
PIPE, SUCTION 1
EU0-24335-01-00
Unavailable
26
BAND, HOSE
90601-11052-00
Unavailable
27
PIPE, SUCTION 1
EU0-24335-31-00
Unavailable
28
BAND, HOSE
90601-11052-00
Unavailable
29
PIPE, SUCTION 2
EW3-24336-00-00
Unavailable
30
FILTER ASSY
8H5-24560-00-00
Unavailable
31
BAND, HOSE
90601-11052-00
Unavailable
32
BAND, HOSE 62
90601-162U5-00
Unavailable
33
CLAMP
90465-10098-00
Unavailable
34
HOSE, AIR VENT 1
EU0-67856-00-00
Unavailable
35
CHECK VALVE
EU0-67767-31-00
Unavailable
36
HOSE, FILLER
EW3-67844-00-00
Unavailable
37
BAND, HOSE 55
90601-155U4-00
Unavailable
38
BAND (EU0)
90601-20009-00
Unavailable
39
CLAMP
(90600-92527-00)
Unavailable
40
RIVET, BLIND(EU0,USA)
90267-489U9-00
Unavailable
41
MAT
EW3-67593-00-00
Unavailable
42
FIX, FUEL TANK 1
EW3-67777-00-00
Unavailable
43
BOLT, WITH WASHER
90119-08907-00
Unavailable
44
BOLT, WITH WASHER
90119-08903-00
Unavailable
45
BRACKET, fuel filter
EU0-67816-02-00
Unavailable
46
SPI-LAP 11
90699-36100-00
Unavailable
47
PLUG
90699-34100-00
Unavailable
48
BASE, FUEL TANK 1
EU0-67745-01-00
Unavailable
49
BASE, FUEL TANK (FT)
EW3-67745-30-00
Unavailable
50
FILTER ASSY
6K8-24560-21-00
Unavailable
51
HOLDER
EU0-67817-00-00
Unavailable
52
BRACKET, FILTER
EU0-67816-00-00
Unavailable
