- Partiron
- OEM Parts
- Yamaha
- waverunner
- 1990
- WJ500D (WAVE JAMMER) 1990
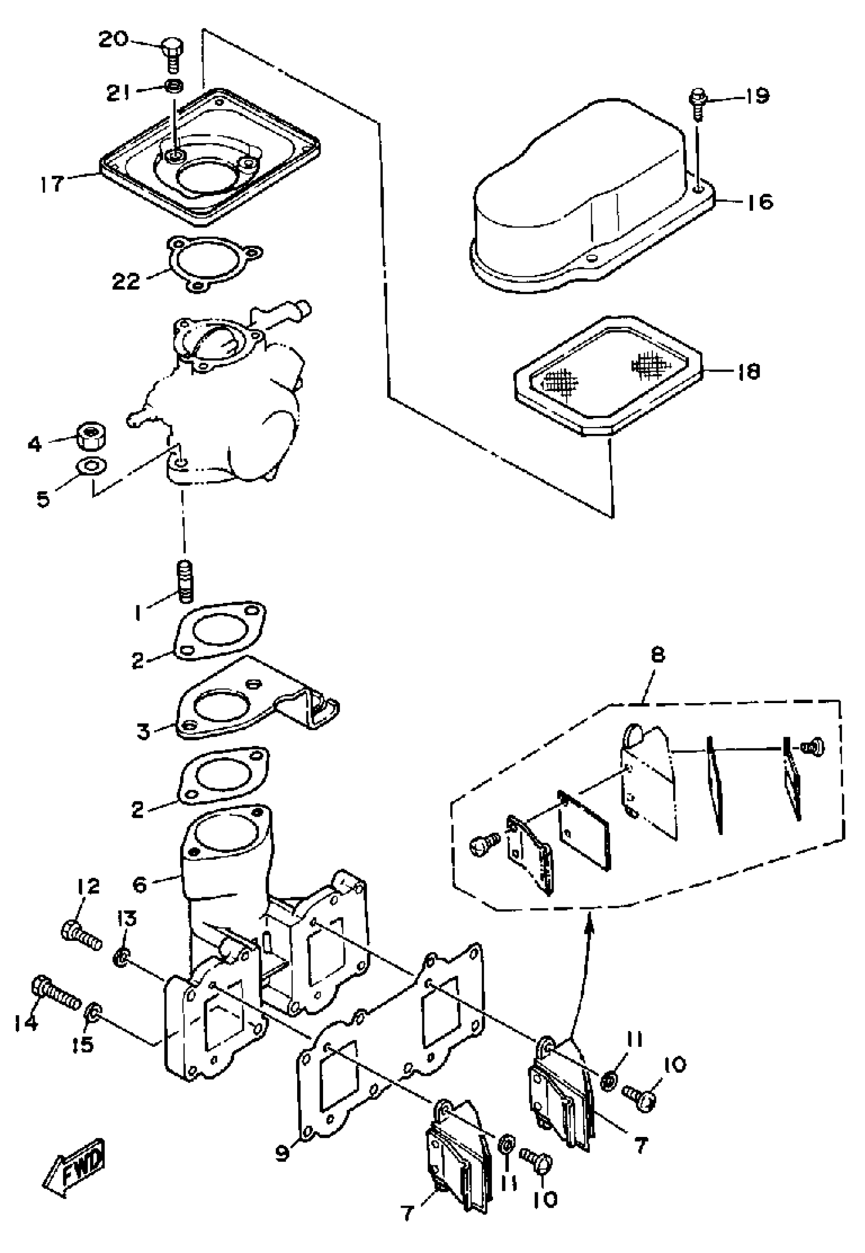
AIR FILTER
Yamaha WJ500D (WAVE JAMMER) 1990 AIR FILTER Diagram
#
Description
Price
1
BOLT, STUD
90116-08M14-00
Unavailable
2
GASKET, MANIFOLD
6K8-13556-A1-00
Unavailable
3
PLATE
6K8-14527-00-00
Unavailable
5
.. WASHER, PLATE
92990-08600-00
Unavailable
6
MANIFOLD 1
6K8-13641-00-94
Unavailable
7
REED VALVE ASSY
6H5-13610-00-00
Unavailable
8
. REED SET
6H4-W0004-00-00
Unavailable
9
GASKET,VALVE SEAT
6K8-13621-A1-00
Unavailable
10
SCREW, PAN HEAD(6B0)
97885-05016-00
Unavailable
14
BOLT, HEXAGON W/W DEEP RECESS
97E95-06555-00
Unavailable
16
COVER, CARBURETOR
6K8-14283-00-98
Unavailable
17
COVER, CARBURETOR 2 (6K8-14284-00-98)
6K8-14284-01-98
Unavailable
18
ELEMENT, AIR CLNR
6K8-14451-00-00
Unavailable
19
SCREW, PAN HEAD(6B0)
97885-05016-00
Unavailable
20
BOLT (FJ0)
97080-06018-00
Unavailable
22
GASKET,AIR COOLER COVER 1
6K8-13674-A1-00
Unavailable
