- Partiron
- OEM Parts
- Yamaha
- waverunner
- 1995
- WB700T (WAVE BLASTER) 1995
ELECTRICAL 2
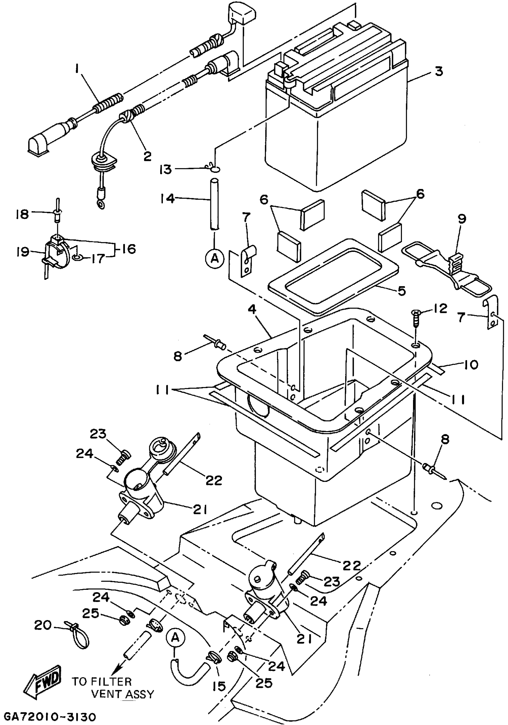
Yamaha WB700T (WAVE BLASTER) 1995 ELECTRICAL 2 Diagram
#
Description
Price
1
WIRE, LEAD
62E-82117-00-00
Unavailable
2
WIRE, LEAD
62T-82117-11-00
Unavailable
3
YB16CLB YUASA BATTERY
YB1-6CLB0-00-00
Unavailable
4
BATTERY CASE COMP.
GA7-68211-00-00
Unavailable
5
PAD, BATTERY
F1S-U8221-00-00
Unavailable
6
PAD, BATTERY 2
EU0-68221-30-00
Unavailable
7
HOOK A
GA7-65772-00-00
Unavailable
9
BAND, BATTERY
GA7-68218-00-00
Unavailable
10
PACKING 48
90656-67105-00
Unavailable
11
PACKING 48
90656-67105-00
Unavailable
12
SCREW, TAPPING
97780-50220-00
Unavailable
13
CLIP
90467-08M10-00
Unavailable
14
HOSE
90699-50135-00
Unavailable
15
BAND
90601-200U1-00
Unavailable
16
CLAMP COMP (EU0)
90600-91736-00
Unavailable
17
. WASHER, PLAIN
90201-05925-00
Unavailable
18
RIVET, BLIND
90267-48802-00
Unavailable
19
BAND (EU0)
90601-20009-00
Unavailable
20
CLAMP
90465-10098-00
Unavailable
21
SOCKET, VENTILATION
GA7-62159-00-00
Unavailable
22
PIPE, VENTILATION
GA7-62149-00-00
Unavailable
23
SCREW, PAN HEAD
98580-05020-00
Unavailable
24
. WASHER, PLAIN
92990-05200-00
Unavailable
25
NUT, FLANGE
95720-05300-00
Unavailable
