- Partiron
- OEM Parts
- Yamaha
- waverunner
- 1996
- WB700AU (WAVE BLASTER) 1996
ENGINE HATCH
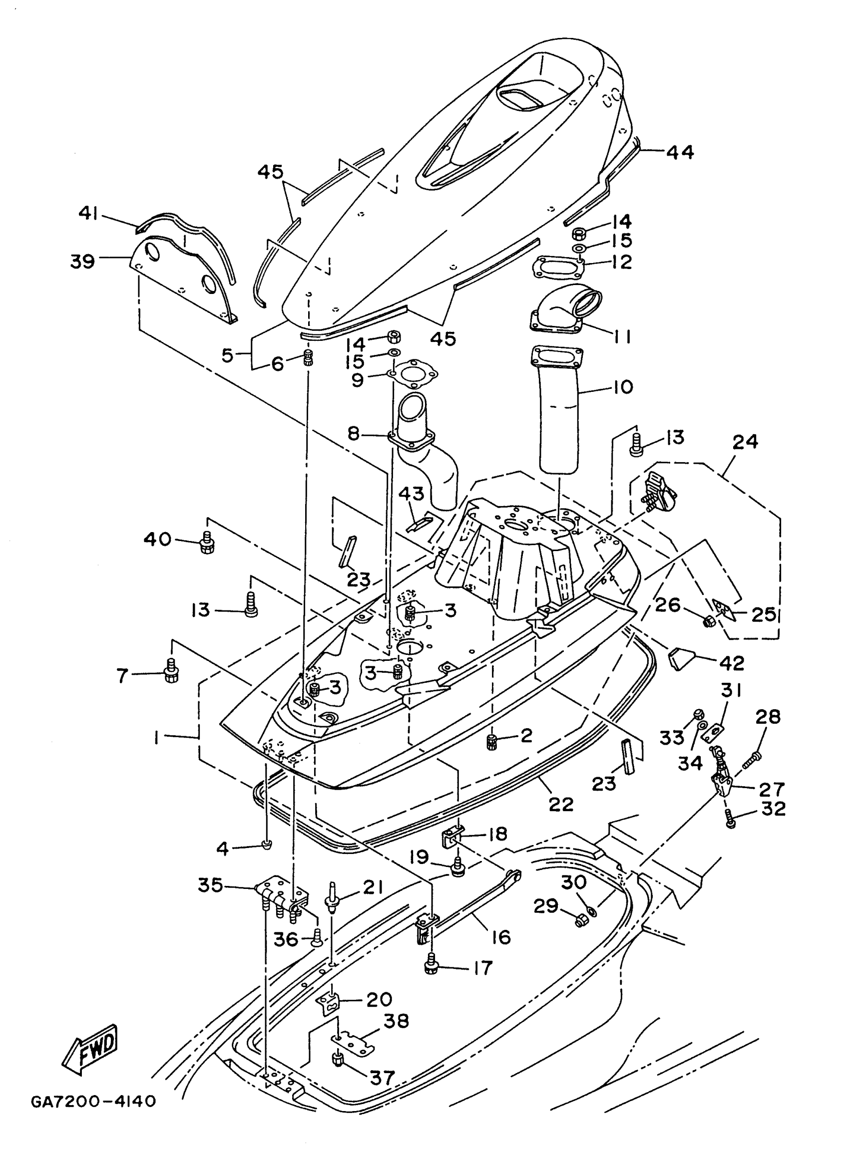
Yamaha WB700AU (WAVE BLASTER) 1996 ENGINE HATCH Diagram
#
1
ENGINE HATCH COMP.
GA7-6516A-00-P4
Unavailable
2
. NUT
90179-08927-00
Unavailable
3
NUT
90179-069U4-00
Unavailable
4
CUSHION, RUBBER
GA7-63768-00-00
Unavailable
5
COVER, ENGINE HATCH
GA7-6516N-00-TG
Unavailable
6
NUT
90179-069U4-00
Unavailable
7
BOLT, WITH WASHER
90119-06913-00
Unavailable
8
HOSE, VENTILATOR 1
GR7-6213F-00-00
Unavailable
9
PLATE, HOSE 1
GA7-6213H-00-00
Unavailable
10
HOSE,VENTILATOR 2
GR7-6213G-01-00
Unavailable
11
HOSE, VENTILATOR 3
GA7-6213K-00-00
Unavailable
12
PLATE, HOSE 2
GA7-6213J-00-00
Unavailable
14
NUT, FLANGE
95720-05300-00
Unavailable
15
. WASHER, PLAIN
92990-05200-00
Unavailable
16
SUPPORT, HATCH
GA7-62891-01-00
Unavailable
17
SCREW, WITH WASHER
90159-06901-00
Unavailable
18
FIX, PLATE
FN8-62892-00-00
Unavailable
19
SCREW, WITH WASHER
90159-06901-00
Unavailable
20
BRACKET, HATCH SUPPORT
FN8-62884-00-00
Unavailable
21
RIVET, BLIND
90267-48940-00
Unavailable
22
PACKING
GA7-62664-00-00
Unavailable
23
PACKING 3
GA7-6266B-00-00
Unavailable
24
HATCH LOCK ASSY
FJ0-62840-02-00
Unavailable
25
. PLATE, HATCH LOCK
FJ0-6284F-00-00
Unavailable
26
NUT, FLANGE
95720-05300-00
Unavailable
27
HOOK, HATCH LOCK
EU0-62843-02-00
Unavailable
28
SCREW, PAN HEAD(6A1)
97885-05020-00
Unavailable
29
NUT, FLANGE
95720-05300-00
Unavailable
30
. WASHER, PLAIN
92990-05200-00
Unavailable
31
STOPPER, HATCH HOOK
GA7-6519B-00-00
Unavailable
32
SCREW, PAN HEAD(62X)
97885-05010-00
Unavailable
33
.. NUT
95380-05800-00
Unavailable
34
. WASHER, PLAIN
92990-05200-00
Unavailable
35
HINGE
90600-70069-00
Unavailable
36
SCREW(617)
98780-05012-00
Unavailable
37
NUT, FLANGE
95720-05300-00
Unavailable
38
PLATE
GA7-65193-00-00
Unavailable
39
PARTITION
GA7-6213N-00-00
Unavailable
40
BOLT WITH WASHER (EW2)
90119-06920-00
Unavailable
41
PACKING 8
GA7-6266G-00-00
Unavailable
42
PAD, HATCH 1
GA7-6517M-00-00
Unavailable
43
PAD, HATCH 2
GA7-6517N-00-00
Unavailable
44
PACKING 48
90656-67105-00
Unavailable
45
PACKING 48
90656-67105-00
Unavailable
