- Partiron
- OEM Parts
- Suzuki
- Motorcycle
- 2025
- VZR1800M4 (2025)
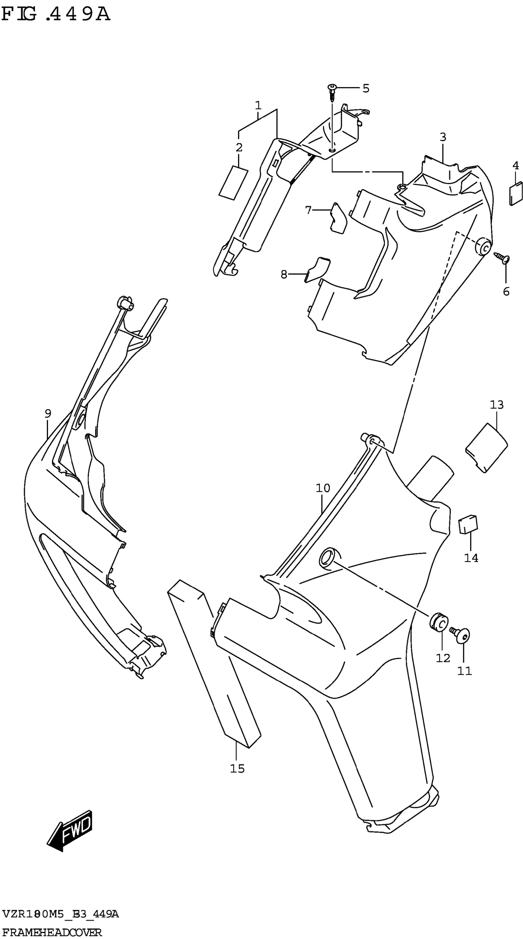
FRAME HEAD COVER
Suzuki VZR1800M4 (2025) FRAME HEAD COVER Diagram
#
Description
Price
7
TAPE,HEAD COVER UPPER
47352-48G00
Unavailable
8
TAPE,HEAD COVER LOWER
47353-48G01
Unavailable
