- Partiron
- OEM Parts
- Suzuki
- Motorcycle
- 2011
- VZR1800L1 (2011)
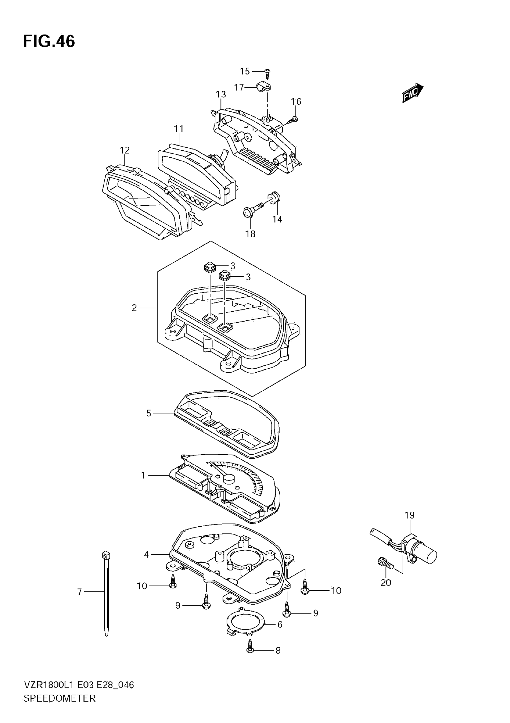
SPEEDOMETER (VZR1800Z L1 E33)
Suzuki VZR1800L1 (2011) SPEEDOMETER (VZR1800Z L1 E33) Diagram
#
Description
Price
1
SPEEDOMETER
34120-48GD0
Unavailable
6
BRACKET
34950-48G00
Unavailable
7
CLAMP
34192-48G00
Unavailable
17
CLAMP
36385-24A30
Unavailable
