- Partiron
- OEM Parts
- Suzuki
- Motorcycle
- 2011
- VZR1800L1 (2011)
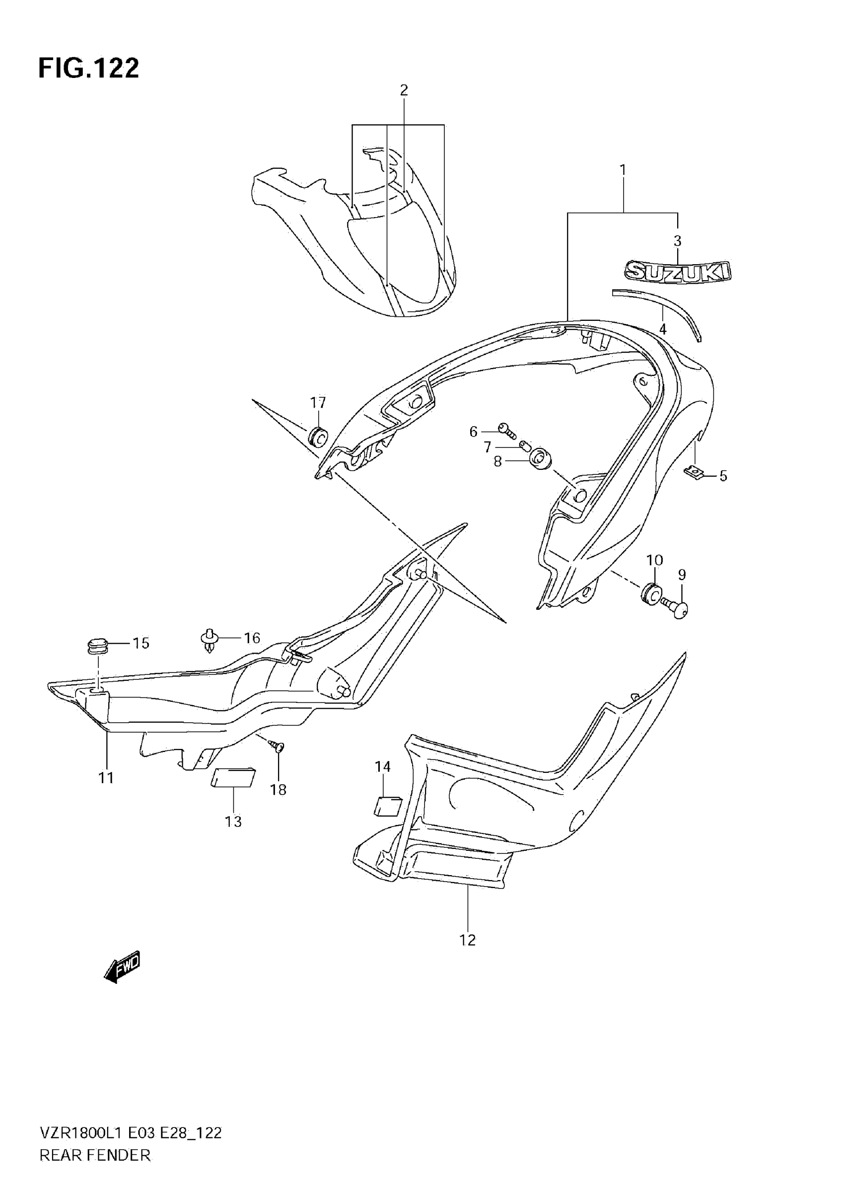
REAR FENDER (VZR1800Z L1 E3)
Suzuki VZR1800L1 (2011) REAR FENDER (VZR1800Z L1 E3) Diagram
#
Description
Price
3
EMBLEM (BLACK/ORANGE)
68161-44GA0-JBA
Unavailable
