- Partiron
- OEM Parts
- Suzuki
- Motorcycle
- 2011
- VZR1800L1 (2011)
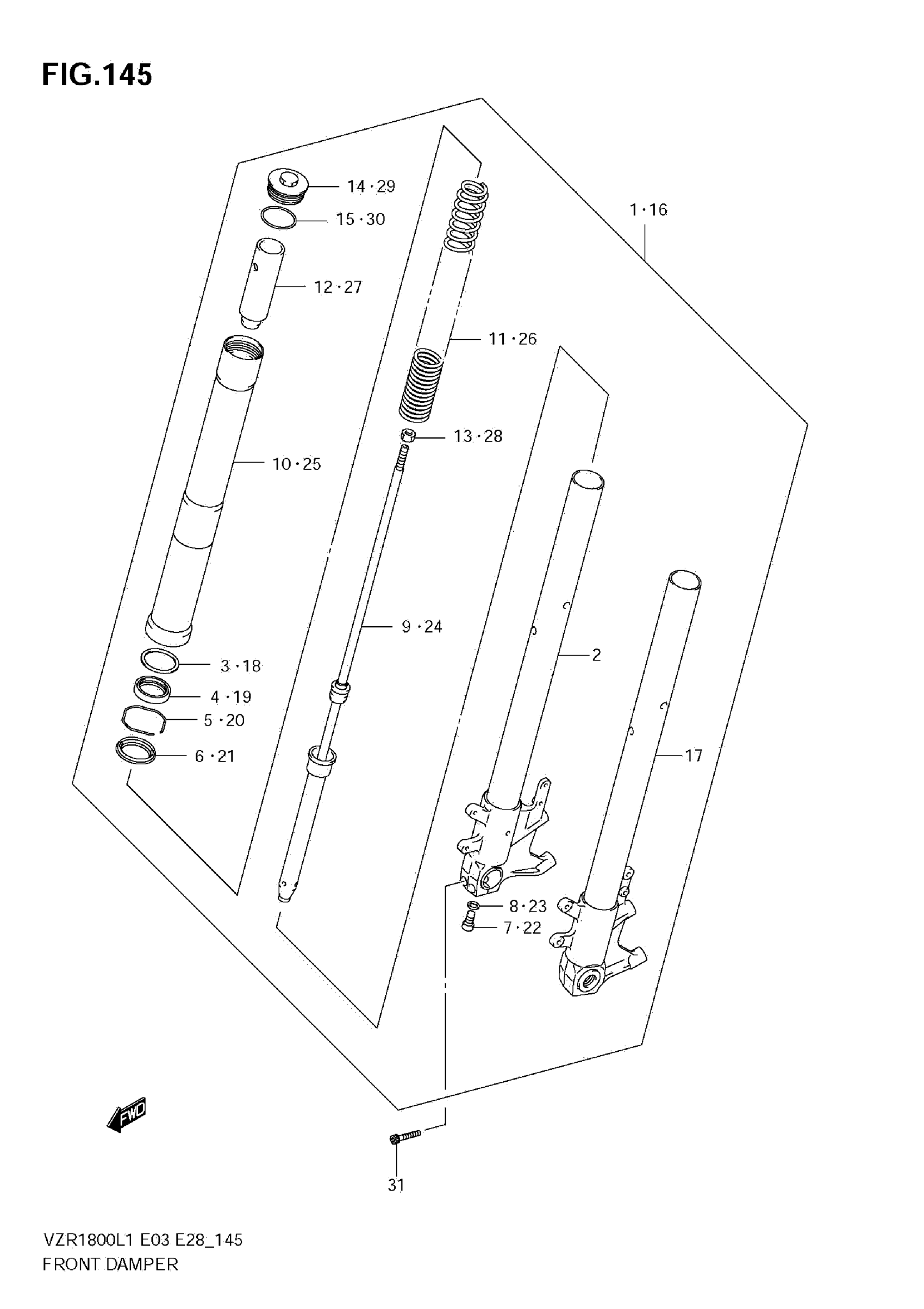
FRONT DAMPER
Suzuki VZR1800L1 (2011) FRONT DAMPER Diagram
#
Description
Price
9
CYLINDER
51146-48G20
Unavailable
17
TUBE, INNER LH
51120-48G20
Unavailable
24
CYLINDER
51146-48G20
Unavailable
