- Partiron
- OEM Parts
- Suzuki
- Motorcycle
- 2011
- VZR1800L1 (2011)
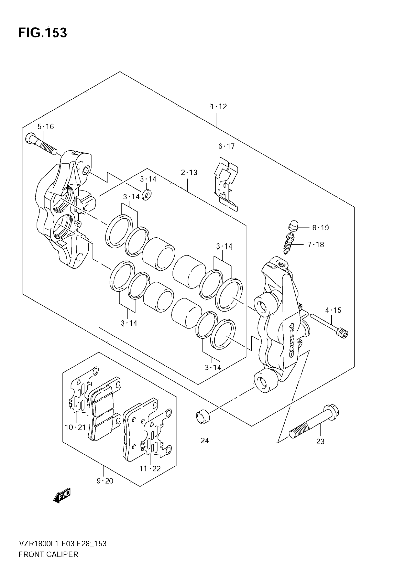
FRONT CALIPER
Suzuki VZR1800L1 (2011) FRONT CALIPER Diagram
#
Description
Price
1
CALIPER ASSY, FRONT RH
59100-41G10-999
Unavailable
FRONT CALIPER
#
1
59100-41G10-999
Unavailable
Edit ride
