Partiron

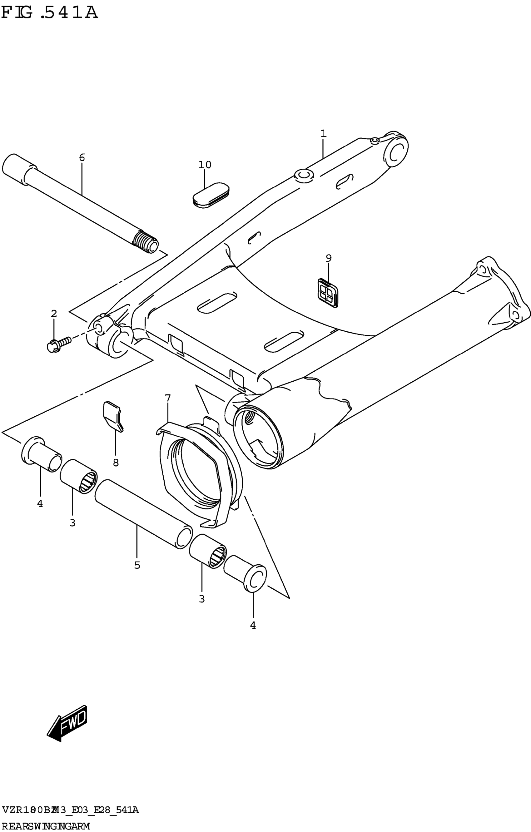
Suzuki VZR1800BZM3 (2023) REAR SWINGINGARM Diagram

#

Description
Price

1

SWINGINGARM,REAR (BLACK)

61111-48G30-019

Unavailable

2

BOLT (8X36)

09103-08071

$5.65

3

BEARING (25X33X35)

09263-25073

$30.93

4

SPACER,PIVOT BEARING

61251-31E00

$59.25

5

SPACER,RR SWGARM PVT CTR

61280-48G01

Unavailable

6

SHAFT,RR SWGARM PIVOT

61211-48G00

$145.32

7

BOOT,PROPELLER SHAFT

61372-48G11

$22.42

8

CAP,RR SWGARM JOINT FRONT

61167-48G00

$8.60

9

CAP,RR SWGARM JOINT REAR

61168-48G00

$9.24

10

CAP,RR SWGARM JOINT UPPER

61169-48G00

$8.60