- Partiron
- OEM Parts
- Suzuki
- Motorcycle
- 2022
- VZR1800BZM2 (2022)
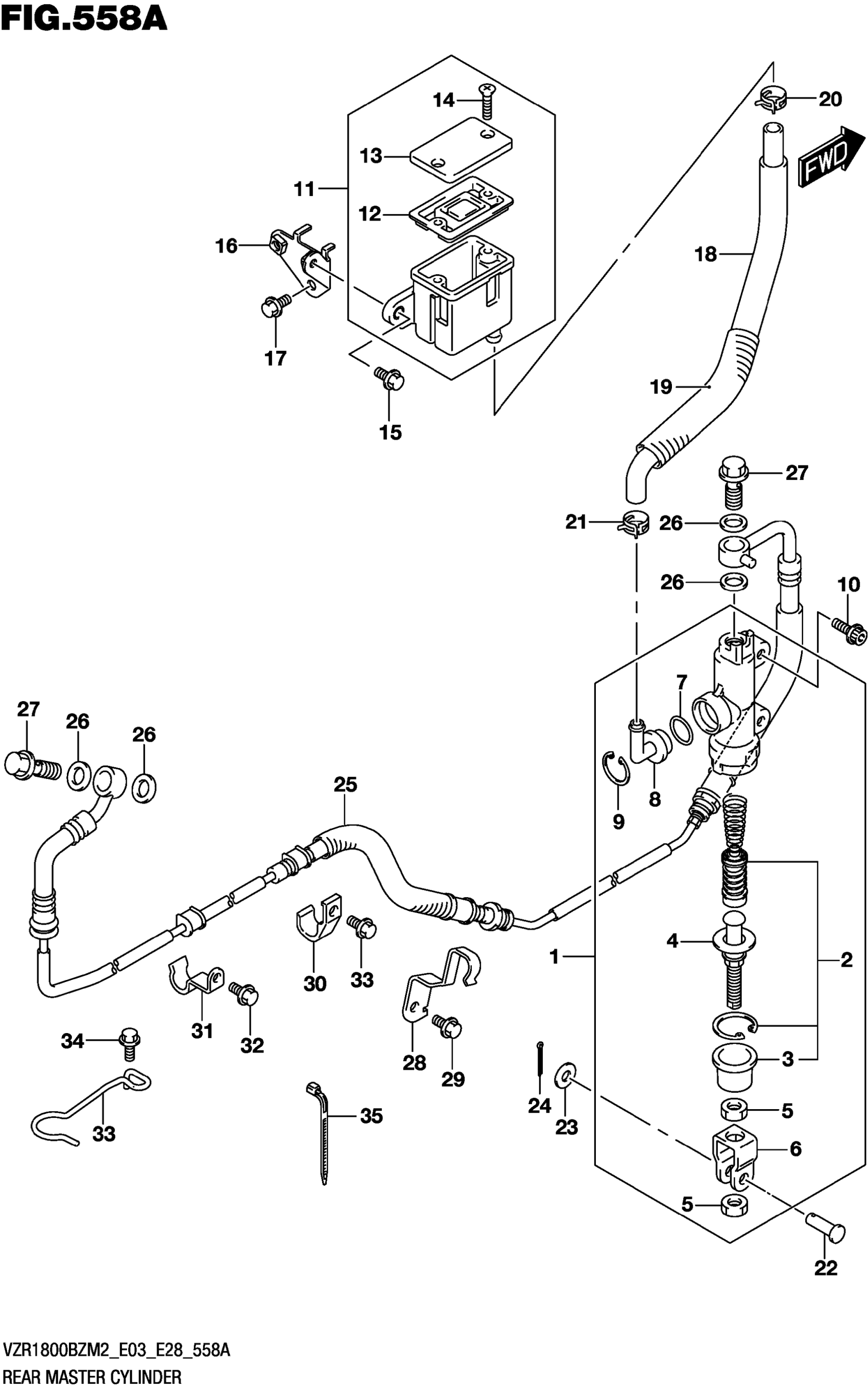
REAR MASTER CYLINDER
Suzuki VZR1800BZM2 (2022) REAR MASTER CYLINDER Diagram
#
Description
Price
4
.ROD,PUSH
69670-44B00
Unavailable
16
BRACKET,RR RESERVOIR TANK
69750-48G00
Unavailable
18
HOSE,RR RESERVOIR TANK
69730-48G00
Unavailable
28
CLAMP,RR BRAKE HOSE NO.3
69268-48G00
Unavailable
33
GUIDE,RR BRAKE HOSE
69243-48G00
Unavailable
