- Partiron
- OEM Parts
- Suzuki
- Motorcycle
- 2018
- VZR1800BZL8 (2018)
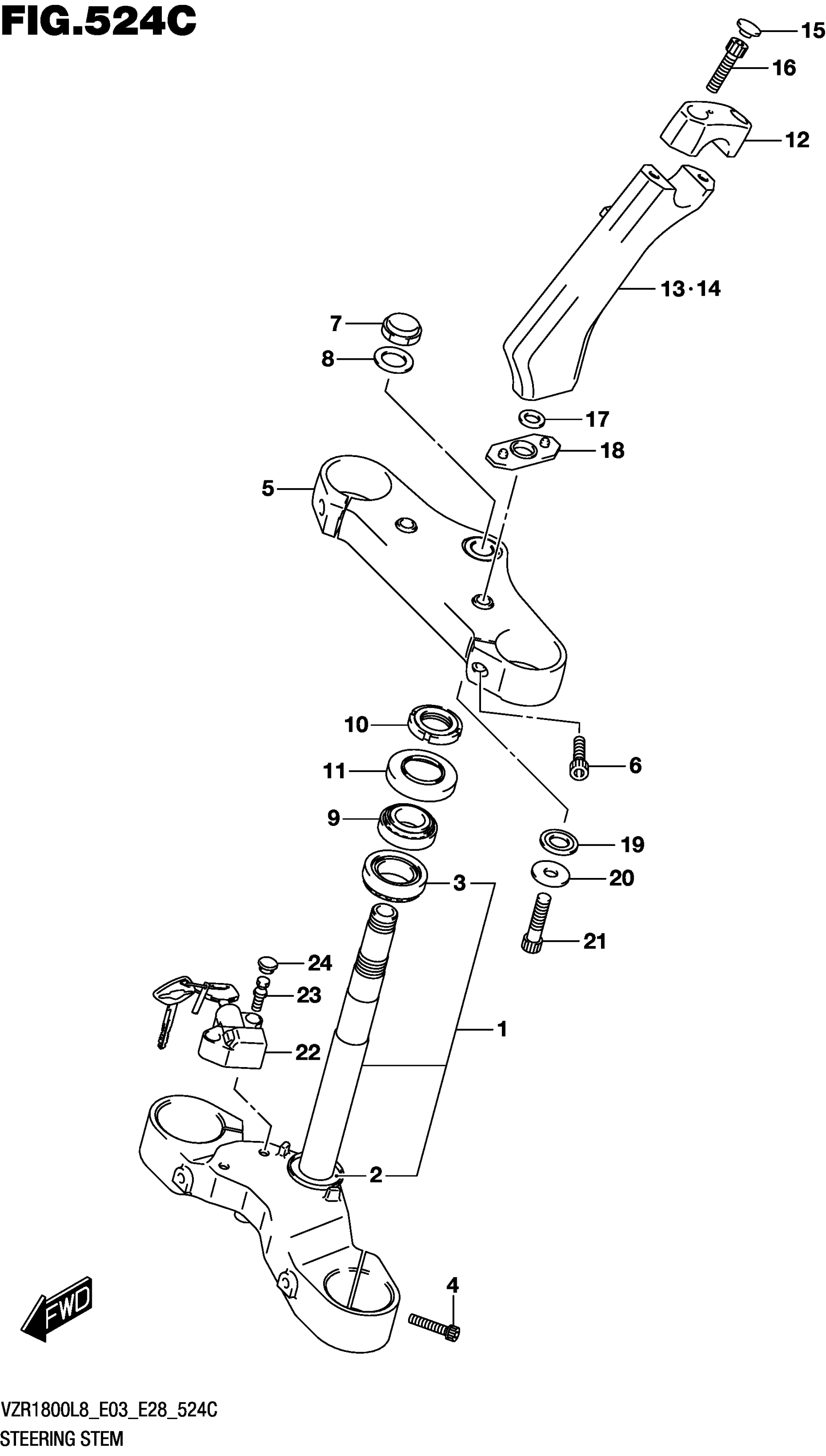
STEERING STEM (VZR1800BZL8 E28)
Suzuki VZR1800BZL8 (2018) STEERING STEM (VZR1800BZL8 E28) Diagram
#
Description
Price
5
BRACKET,UPPER
51311-48G30
Unavailable
8
WASHER
51356-48G30
Unavailable
