- Partiron
- OEM Parts
- Suzuki
- Motorcycle
- 2018
- VZR1800BZL8 (2018)
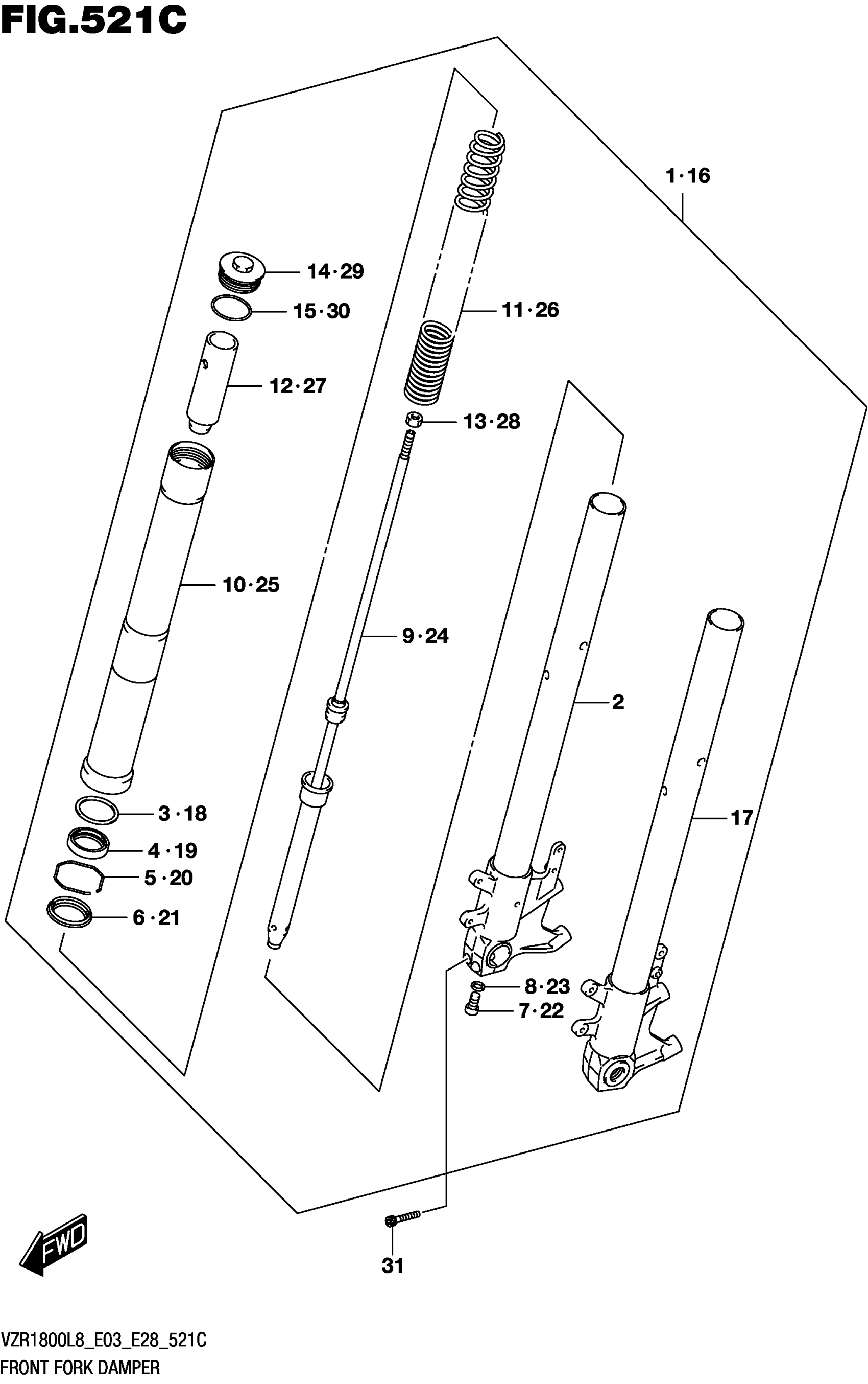
FRONT FORK DAMPER (VZR1800BZL8 E28)
Suzuki VZR1800BZL8 (2018) FRONT FORK DAMPER (VZR1800BZL8 E28) Diagram
#
Description
Price
9
.CYLINDER
51146-48G20
Unavailable
10
.TUBE,OUTER
51130-48G30
Unavailable
14
.CAP
51351-48G30
Unavailable
24
.CYLINDER
51146-48G20
Unavailable
25
.TUBE,OUTER
51130-48G30
Unavailable
29
.CAP
51351-48G30
Unavailable
