- Partiron
- OEM Parts
- Suzuki
- Motorcycle
- 2017
- VZR1800BZL7 (2017)
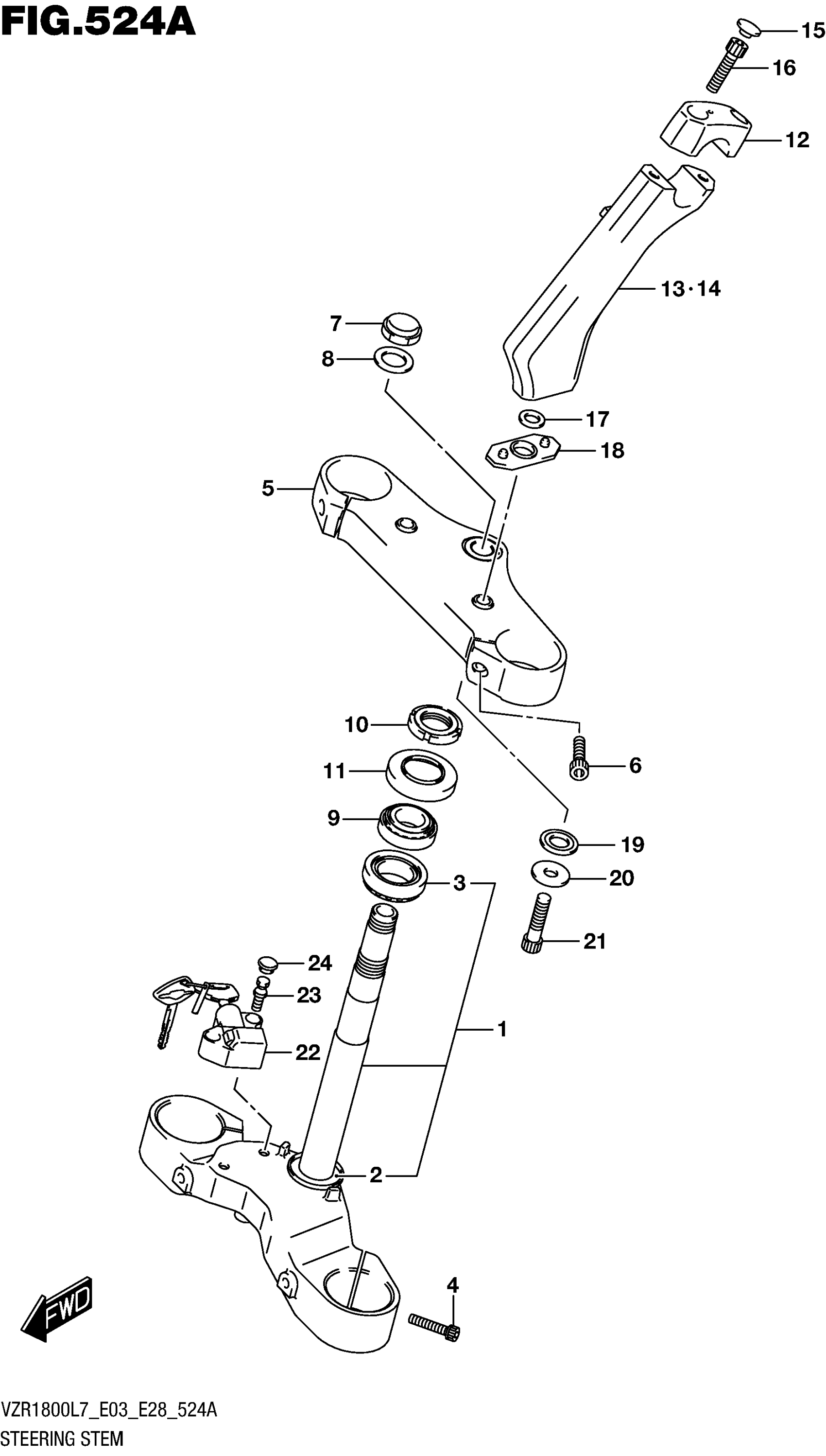
STEERING STEM (VZR1800L7 E28)
Suzuki VZR1800BZL7 (2017) STEERING STEM (VZR1800L7 E28) Diagram
#
Description
Price
1
BRACKET, UNDER
51410-48G00
Unavailable
6
BOLT
51321-44G10
Unavailable
