Partiron

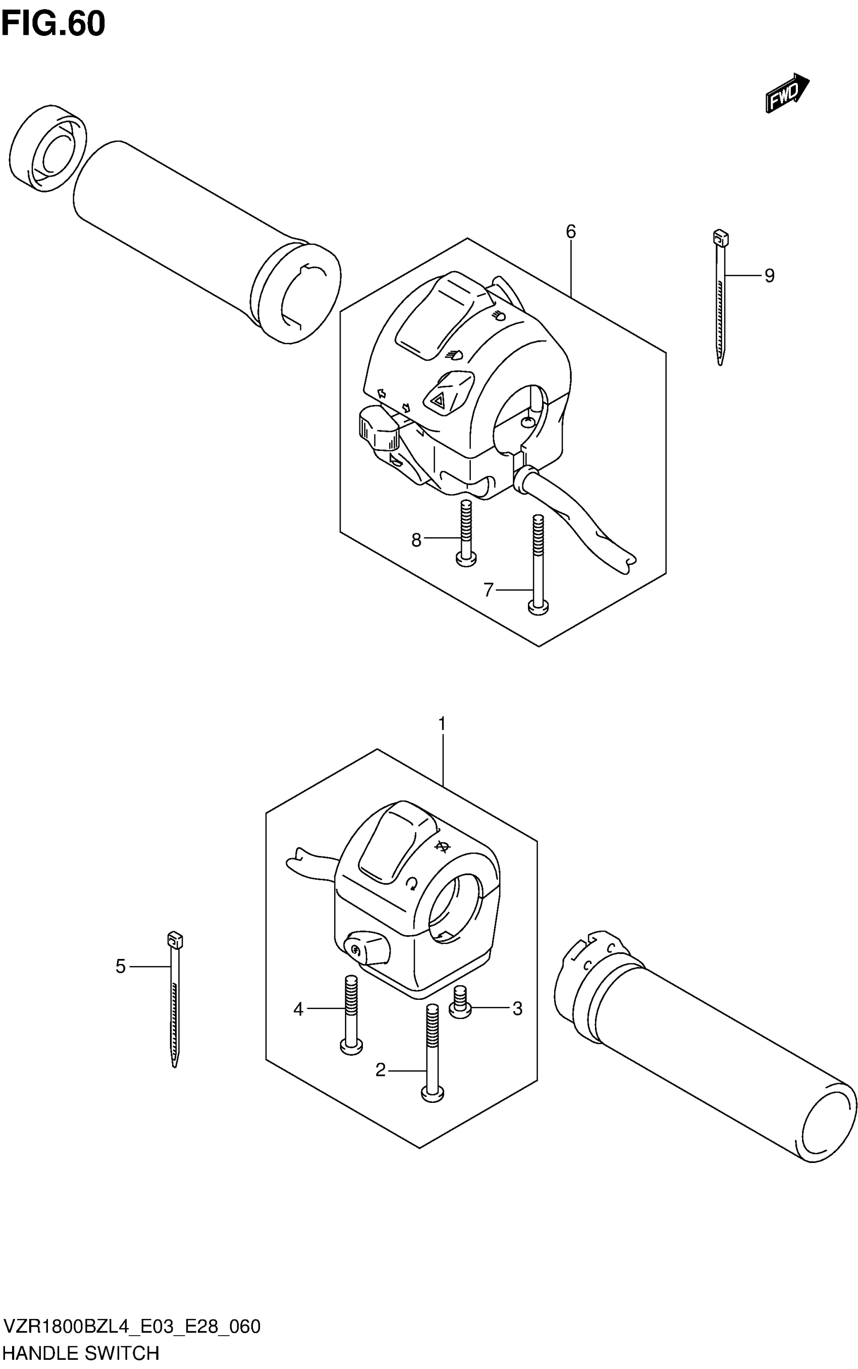
Suzuki VZR1800BZL4 (2014) HANDLE SWITCH Diagram

#

Description
Price

1

SWITCH ASSY, HANDLE RH

37200-06J00

$276.52

2

SCREW

02112-0545B

$2.26

3

SCREW

02112-0510B

$2.08

4

SCREW

02112-0535B

$2.23

5

CLAMP (L:145)

09407-14407

$3.57

6

SWITCH ASSY, HANDLE LH

37400-48GB0

$286.42

7

SCREW

02112-0545B

$2.26

8

SCREW

02112-0530B

$1.49

9

CLAMP (L:145)

09407-14407

$3.57