- Partiron
- OEM Parts
- Suzuki
- Motorcycle
- 2016
- VZR1800 (2016)
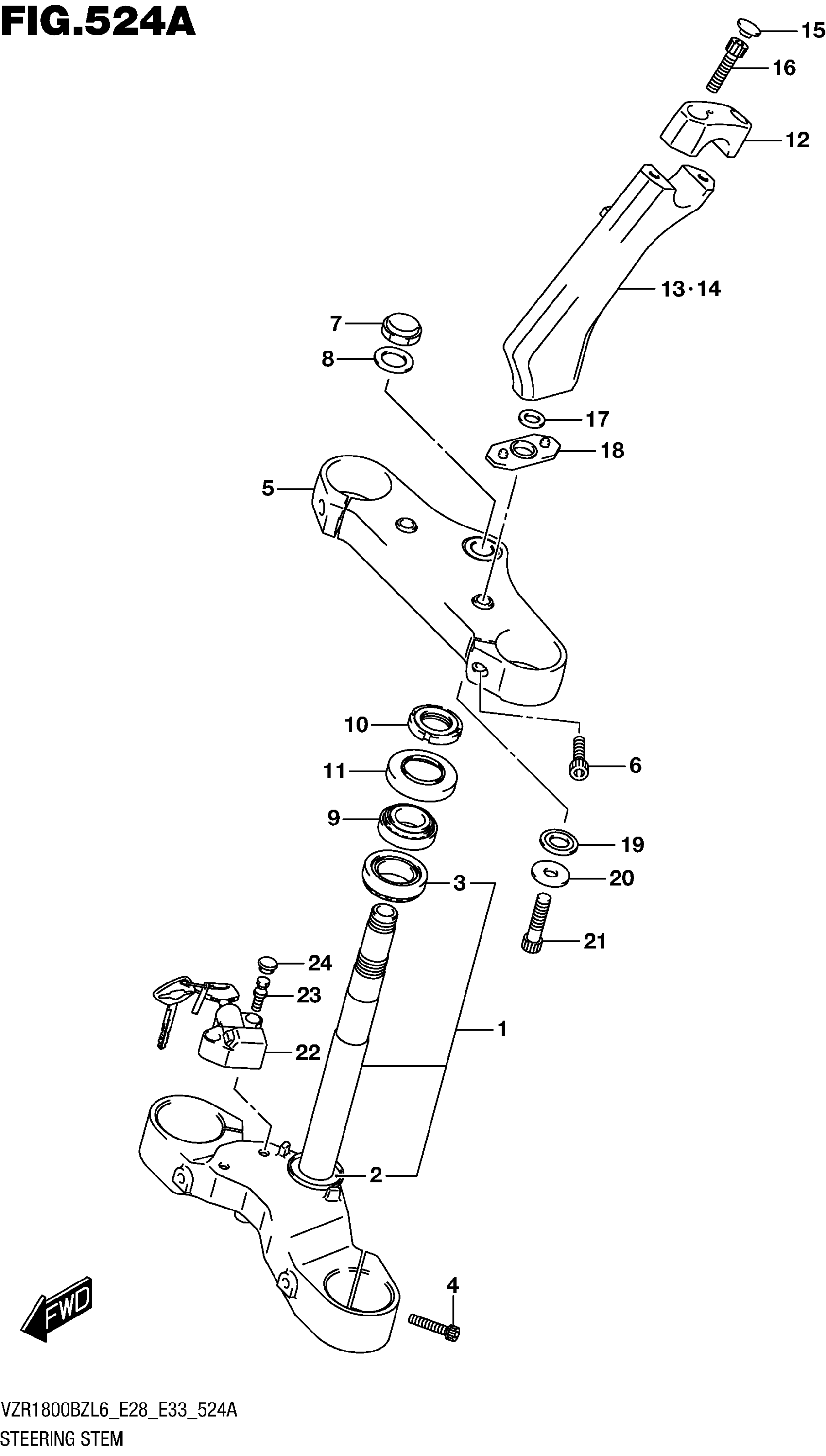
STEERING STEM
Suzuki VZR1800 (2016) STEERING STEM Diagram
#
Description
Price
5
BRACKET, UPPER
51311-48G30
Unavailable
8
WASHER
51356-48G30
Unavailable
