- Partiron
- OEM Parts
- Suzuki
- Motorcycle
- 2016
- VZ800L6 (2016)
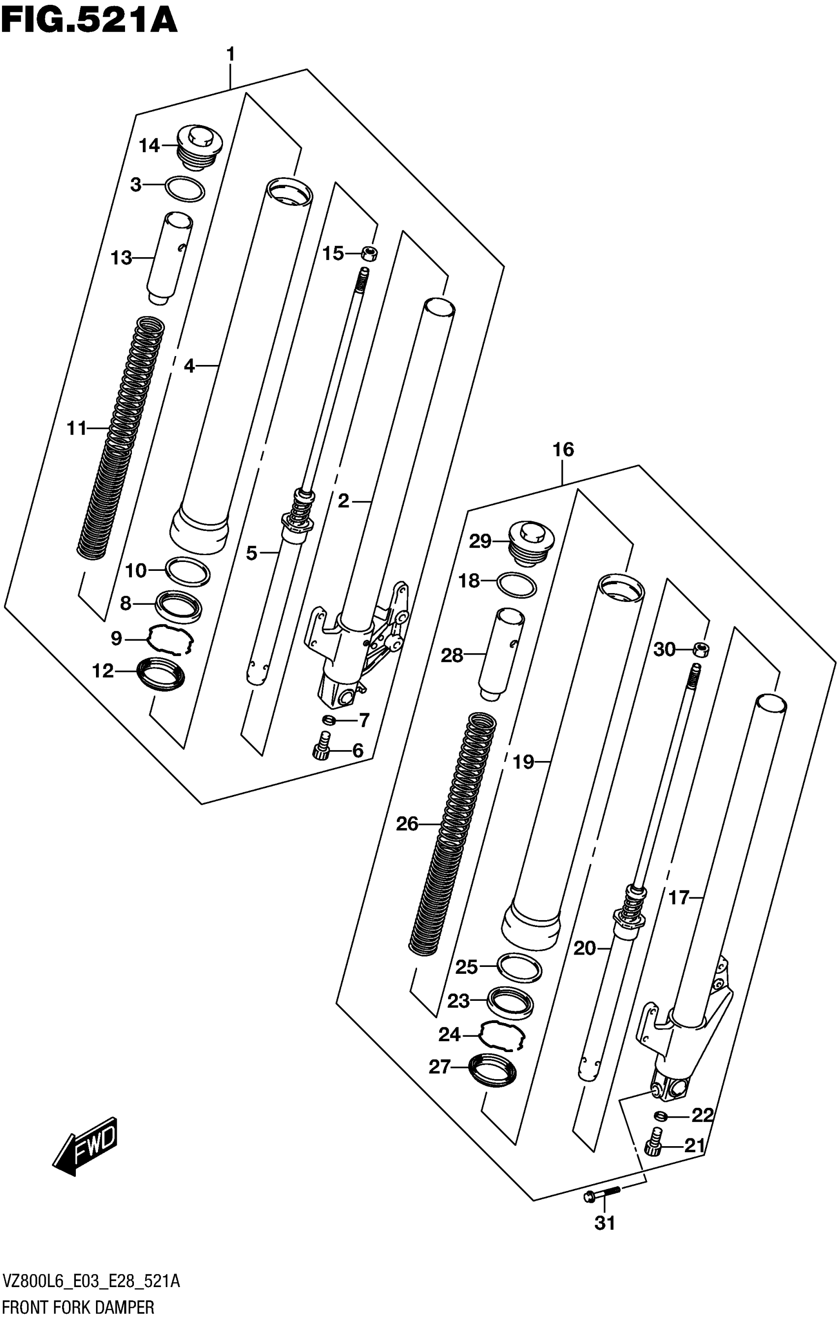
FRONT FORK DAMPER
Suzuki VZ800L6 (2016) FRONT FORK DAMPER Diagram
#
Description
Price
2
.TUBE, INNER RH
51110-39G20
Unavailable
16
DAMPER ASSY, FRONT FORK LH
51104-39G60
Unavailable
29
.CAP
51351-39G20
Unavailable
