- Partiron
- OEM Parts
- Suzuki
- Motorcycle
- 2005
- VZ1600 (CA) (2005)
WATER PUMP
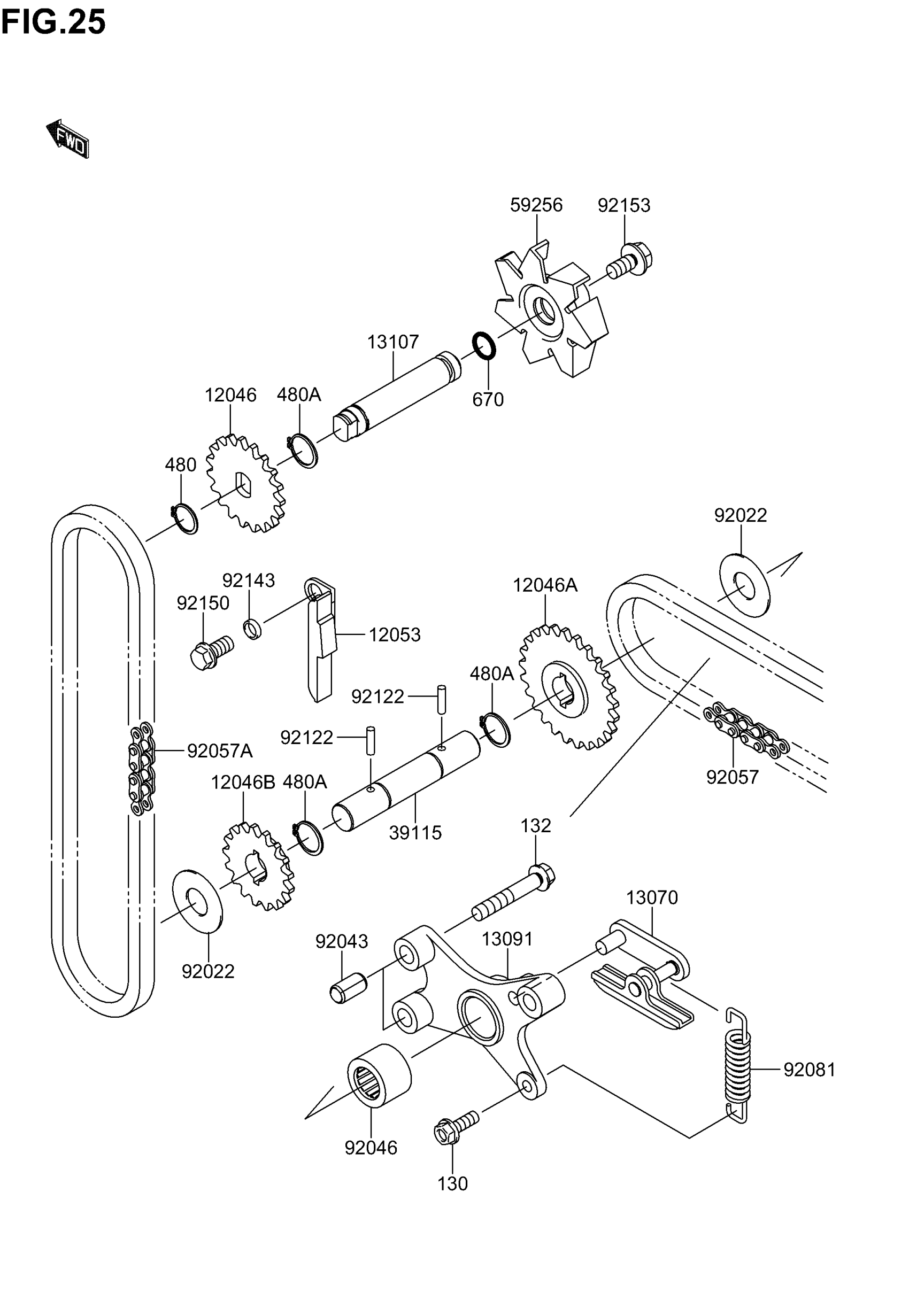
Suzuki VZ1600 (CA) (2005) WATER PUMP Diagram
#
Description
Price
12046
SPROCKET,OIL PUMP,19T
K1204-61079
Unavailable
12046A
SPROCKET,CRANK IDLER,25T
K1204-61096
Unavailable
12046B
SPROCKET,IDLER,17T
K1204-61097
Unavailable
12053
GUIDE-CHAIN
K1205-31227
Unavailable
13070
GUIDE
K1307-01178
Unavailable
13091
HOLDER
K1309-11471
Unavailable
13107
SHAFT,IMPELLER
K1310-71196
Unavailable
39115
SHAFT-IDLER
K3911-51058
Unavailable
59256
IMPELLER
K5925-61066
Unavailable
92022
WASHER,12X27.5X1.0
K9202-21852
Unavailable
92046
BEARING-NEEDLE,HK1212
K9204-61163
Unavailable
92057
CHAIN,BS25HX46L
K9205-71230
Unavailable
92057A
CHAIN,BS25HX44L
K9205-71231
Unavailable
92081
SPRING,IDLER SHAFT
K9208-11791
Unavailable
92122
ROLLER,3X15.8
K9212-21126
Unavailable
92143
COLLAR
K9214-31123
Unavailable
92153
BOLT,6X12
K9215-30009
Unavailable
130
BOLT-FLANGED
KK130-D0514
Unavailable
132
BOLT,FLANGED,SM This part replaces KK132-V0635.
K132B-A0635
Unavailable
480
CIRCLIP-TYPE-C,11MM
KK480-J1100
Unavailable
480A
CIRCLIP-TYPE-C,12MM
KK480-J1200
Unavailable
