- Partiron
- OEM Parts
- Suzuki
- Motorcycle
- 2016
- VZ1500L6 (2016)
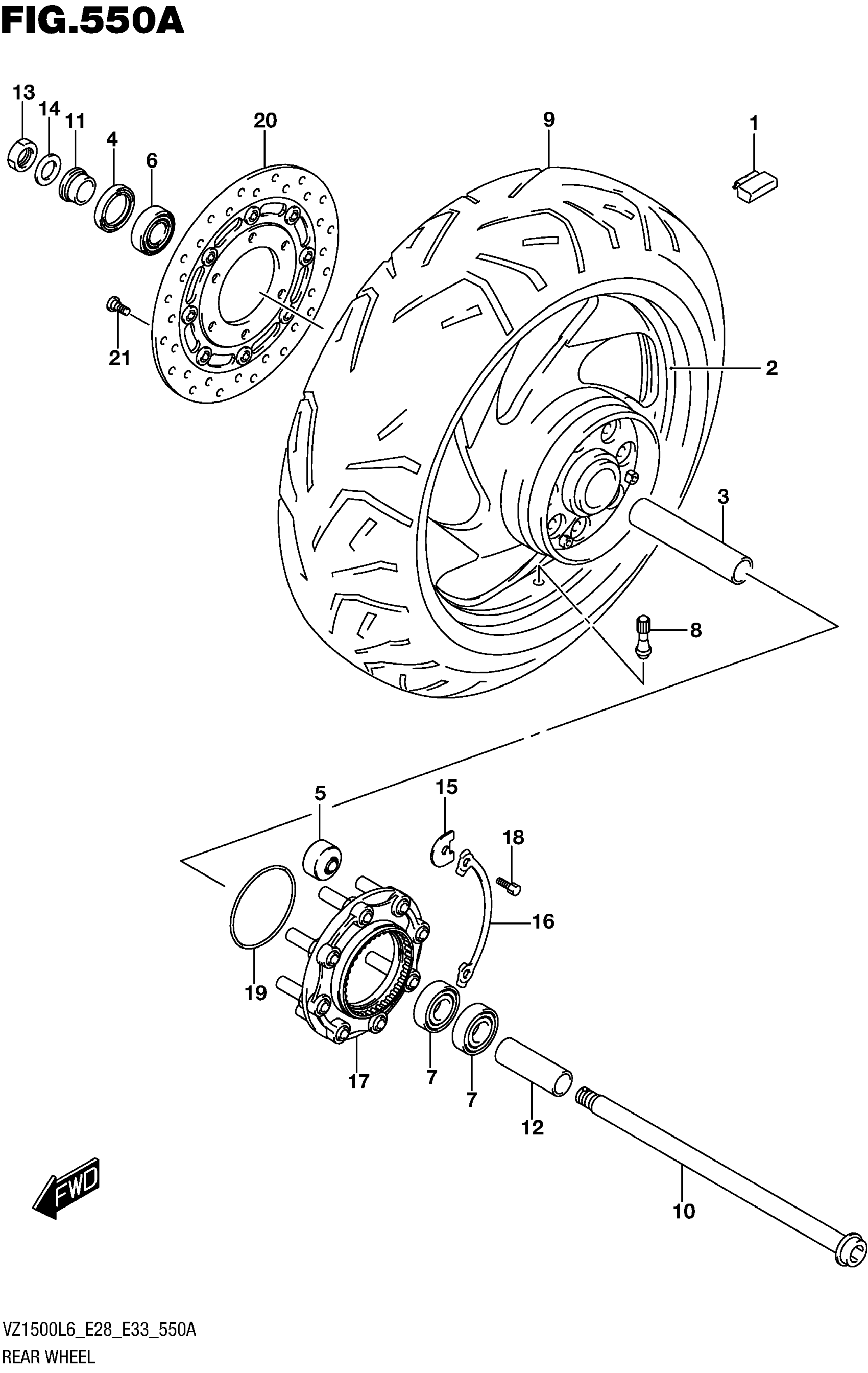
REAR WHEEL
Suzuki VZ1500L6 (2016) REAR WHEEL Diagram
#
Description
Price
9
TIRE, REAR (200/50ZR17M/C) | G852 RADIAL G (T/L)
65110-40H00
Unavailable
9
TIRE | BRIDGESTONE
65110-40H00
Unavailable
