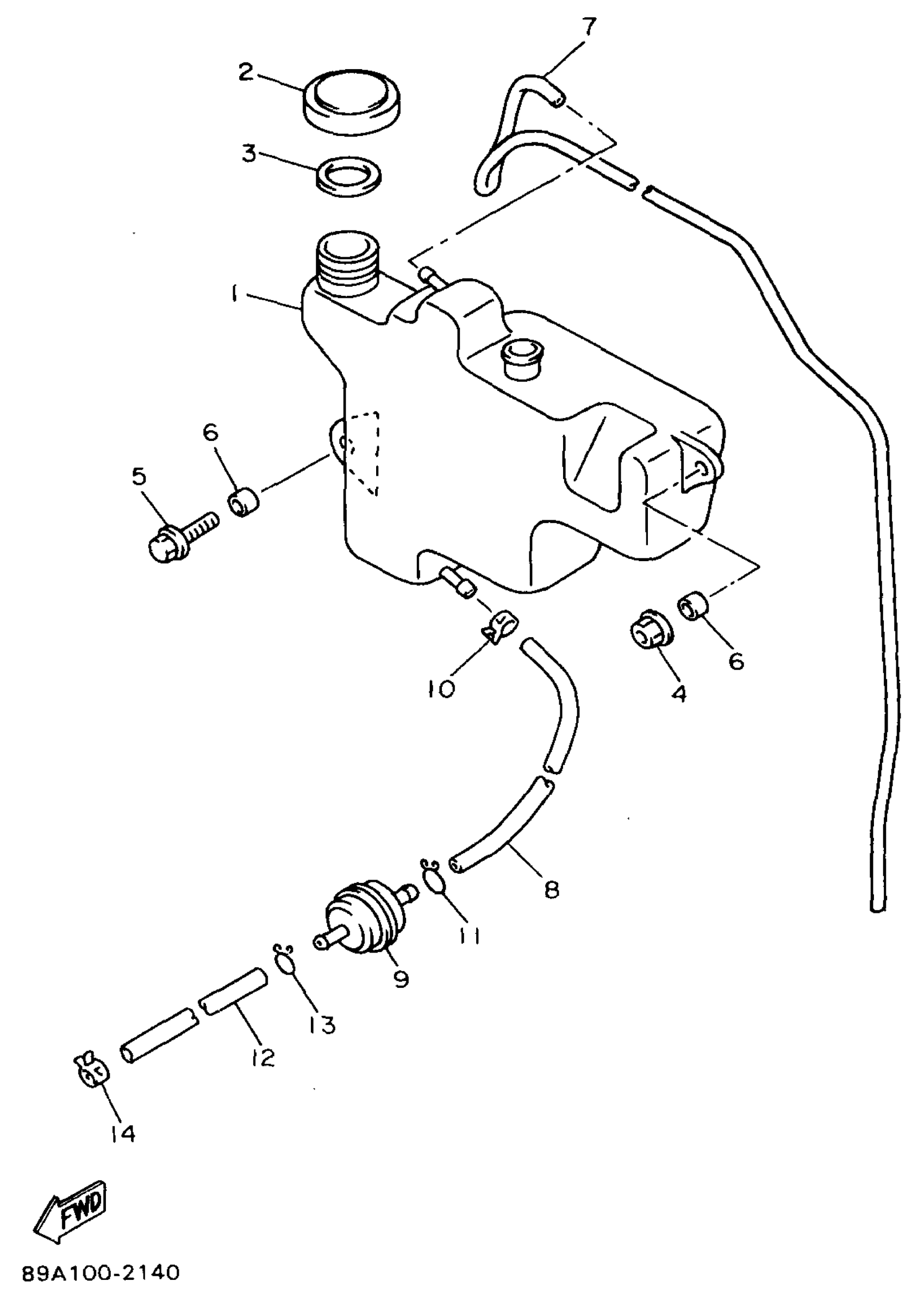
Yamaha VX800A (VMAX-4 800) 8BU3 1997 OIL TANK Diagram
#
Description
Price
1
TANK, OIL
89A-21751-01-00
Unavailable
5
BOLT
90109-06757-00
Unavailable
7
PIPE, OIL TANK BREATHER
89A-21745-01-00
Unavailable
8
HOSE
91A30-07036-00
Unavailable
