- Partiron
- OEM Parts
- Yamaha
- snowmobile
- 1992
- VX750S (VMAX-4) 1992
FUEL TANK
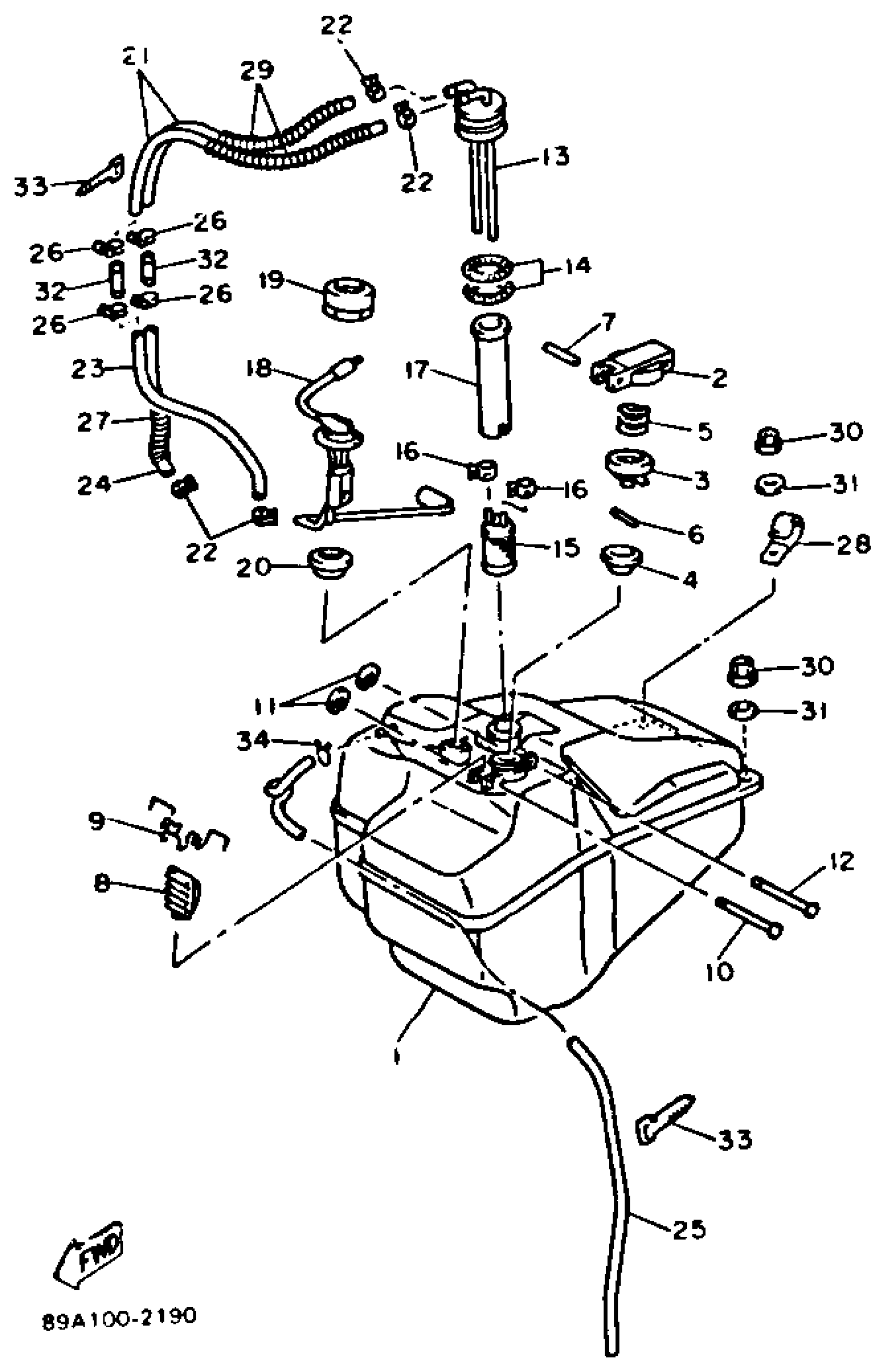
Yamaha VX750S (VMAX-4) 1992 FUEL TANK Diagram
#
Description
Price
1
FUEL TANK
89A-24111-01-00
Unavailable
2
BODY, CAP
8W6-24611-00-00
Unavailable
6
PIN, SPRING
91690-30016-00
Unavailable
9
SPRING, TORSION(81E)
90508-10715-00
Unavailable
12
PIN (8W6)
90249-03175-00
Unavailable
13
PIPE, SUCTION 1
89A-24335-00-00
Unavailable
15
FILTER ASSEMBLY
8U9-24560-00-00
Unavailable
16
CLIP (7K7)
90467-11044-00
Unavailable
17
PIPE, SUCTION 2
89A-24336-00-00
Unavailable
18
SNDR UT ASY,F/MTR
89A-85752-01-00
Unavailable
19
HOUSING, FUEL METER
53L-24261-00-00
Unavailable
20
GASKET, SENDER UNIT
53L-85753-00-00
Unavailable
21
TUBE, FLEXIBLE VINYL(8AK)
91A20-07039-00
Unavailable
22
CLIP (7K7)
90467-11044-00
Unavailable
23
TUBE, FLEXIBLE VINYL(86X)
91A20-07100-00
Unavailable
24
TUBE, FLEXIBLE VINYL(86X)
91A20-07100-00
Unavailable
25
BREATHER
89A-21744-00-00
Unavailable
26
CLIP (8J7)
90467-11009-00
Unavailable
27
. PROTECTOR, PIPE
85L-24327-00-00
Unavailable
28
CLAMP (706)
90465-06100-00
Unavailable
29
PROTECTOR, PIPE
8F3-24327-00-00
Unavailable
30
NUT, NYLON
95717-08300-00
Unavailable
31
WASHER, PLATE (3L7)
90201-08784-00
Unavailable
32
PIPE, JOINT 4
878-24379-00-00
Unavailable
33
BAND
341-26397-01-00
Unavailable
34
CLIP (8L2)
90467-08017-00
Unavailable
