- Partiron
- OEM Parts
- Yamaha
- snowmobile
- 1997
- VX700SXA (VMAX 700 SX) 8CH1 1997
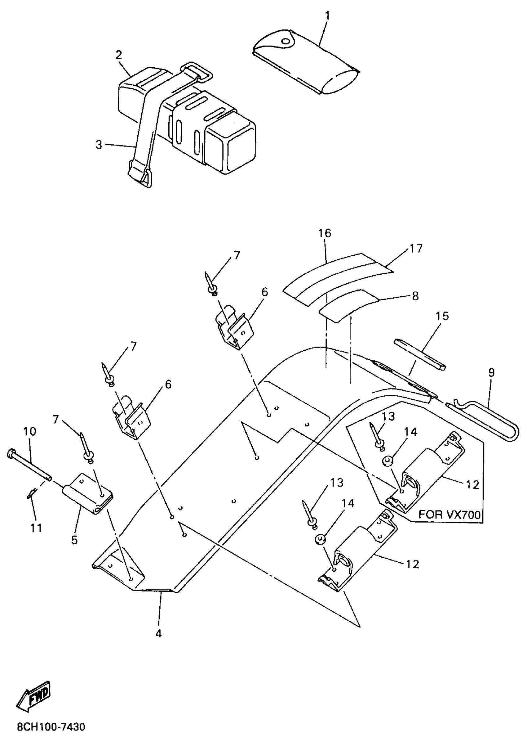
GUARD LUGGAGE BOX
Yamaha VX700SXA (VMAX 700 SX) 8CH1 1997 GUARD LUGGAGE BOX Diagram
#
Description
Price
1
TOOL KIT
8CR-28100-00-00
Unavailable
2
TOOL BOX COMP.
4GY-21107-00-00
Unavailable
4
GUARD, DRIVE
8CR-77311-10-00
Unavailable
5
BRACKET 1
8CR-77315-00-00
Unavailable
14
WASHER, PLATE
90201-04027-00
Unavailable
14
WASHER, PLATE
90201-04027-00
Unavailable
15
DAMPER 1
8CR-77319-00-00
Unavailable
16
LABEL, CAUTION
8CH-1417E-00-00
Unavailable
17
LABEL 1
8CR-47578-00-00
Unavailable
