Partiron

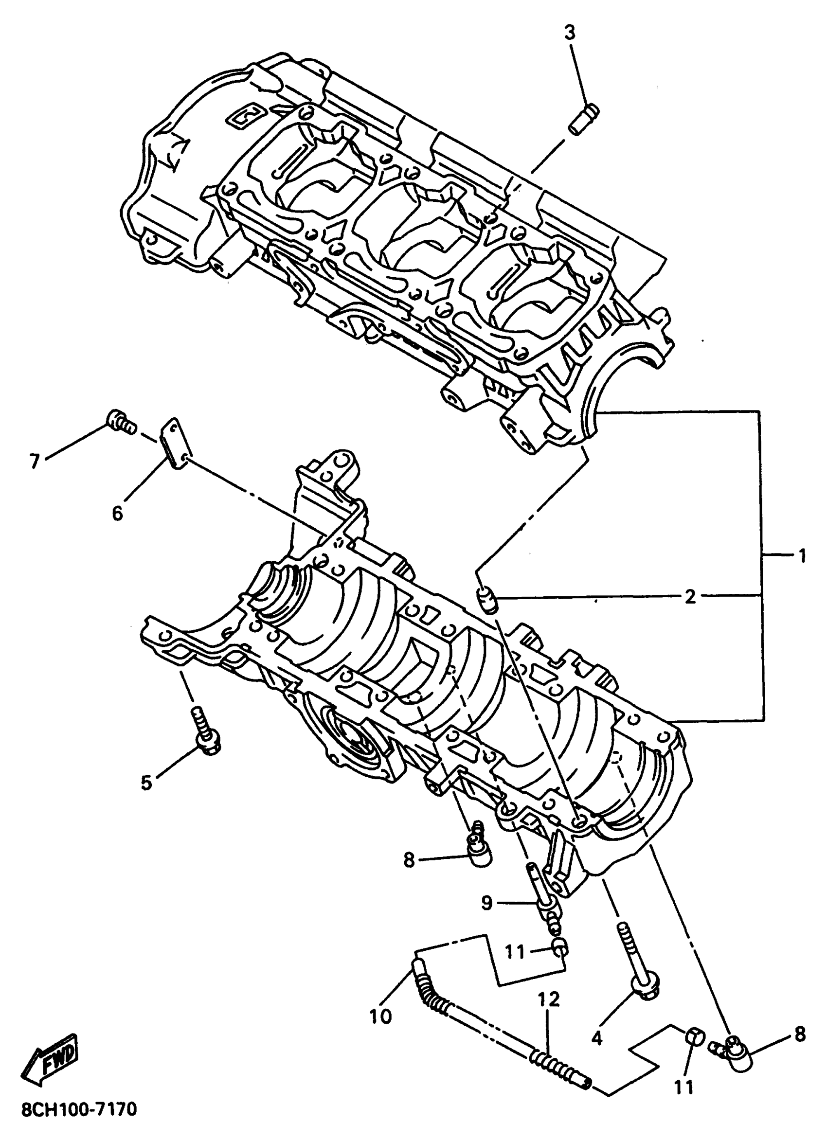
Yamaha VX700SXA (VMAX 700 SX) 8CH1 1997 CRANKCASE FOR VX700 Diagram

#

Description
Price

1

CRANKCASE ASSY

8CH-15100-03-00

Unavailable

2

PIN, DOWEL

99530-12016-00

$4.89

3

JOINT, BREATHER

J38-11116-00-00

$3.80

4

BOLT, FLANGE(JF2)

95817-08080-00

$4.24

5

BOLT, FLANGE

95817-08035-00

$9.49

6

CLAMP

90461-08137-00

Unavailable

7

SCREW, PAN

98517-06012-00

$3.78

8

NOZZLE

353-13552-01-00

$9.99

9

NOZZLE

8CH-13552-00-00

Unavailable

10

TUBE, FLEXIBLE VINYL(8AV)

91A30-03039-00

$10.49

11

CLIP (2A6)

90468-02025-00

$9.49

12

SPRING, COMPRESSION(3JK)

90501-101J5-00

$19.99