- Partiron
- OEM Parts
- Yamaha
- snowmobile
- 2001
- VX700F 8DS4 2001
ELECTRICAL 1
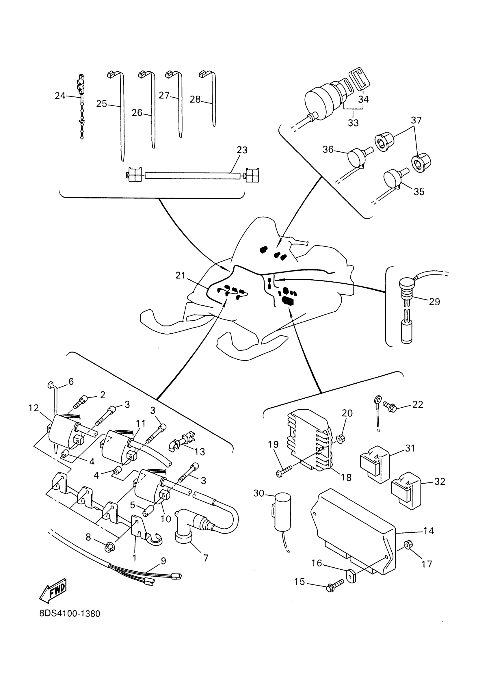
Yamaha VX700F 8DS4 2001 ELECTRICAL 1 Diagram
#
1
BRACKET, IGNITION COIL
8DM-82316-00-00
Unavailable
2
BOLT,SOCKET
91317-06020-00
Unavailable
9
WIRE, SUB LEAD
8DM-82509-00-00
Unavailable
10
IGNITION COIL ASSY
8DF-82310-10-00
Unavailable
11
IGNITION COIL ASSY
8DF-82310-10-00
Unavailable
13
CLAMP
90464-10002-00
Unavailable
14
C.D.I. UNIT ASSY
8DM-85540-10-00
Unavailable
16
NUT,SPEC'L SHAPE
90179-06W01-00
Unavailable
17
NUT, FLANGE(4MV)
95707-06500-00
Unavailable
18
RECTIFIER & REGULATOR ASSY
4JH-81960-01-00
Unavailable
19
SCREW, PAN HEAD (76T)
98517-06025-00
Unavailable
20
NUT, FLANGE(4MV)
95707-06500-00
Unavailable
21
WIRE HARNESS ASSY
8DS-82590-00-00
Unavailable
22
BOLT, FLANGE
95817-06010-00
Unavailable
23
WIRE, LEAD
8DM-8471G-00-00
Unavailable
24
CLAMP
90464-20031-00
Unavailable
25
BAND, SWITCH CORD
25G-83936-01-00
Unavailable
28
CLAMP
90464-13077-00
Unavailable
29
OIL LEVEL GAUGE ASSY
8CR-85720-02-00
Unavailable
30
CONDENSER, SMOOTHING
3TC-81965-00-00
Unavailable
31
RELAY ASSY (1UY-92)
1UY-81950-92-00
Unavailable
32
RELAY ASSY (8DM-00)
8DM-81950-00-00
Unavailable
33
MAIN SWITCH ASSY
8DM-82510-00-00
Unavailable
34
CAP, KEY
526-82579-00-00
Unavailable
35
RESISTOR, VARIABLE
8DM-87283-00-00
Unavailable
36
RESISTOR, VARIABLE
8DM-87283-10-00
Unavailable
37
KNOB, VARIABLE RESISTOR
8DM-87284-00-00
Unavailable
