Yamaha VX700ERG (VMAX 700ER) 8DY4 2002 STARTER Diagram
#
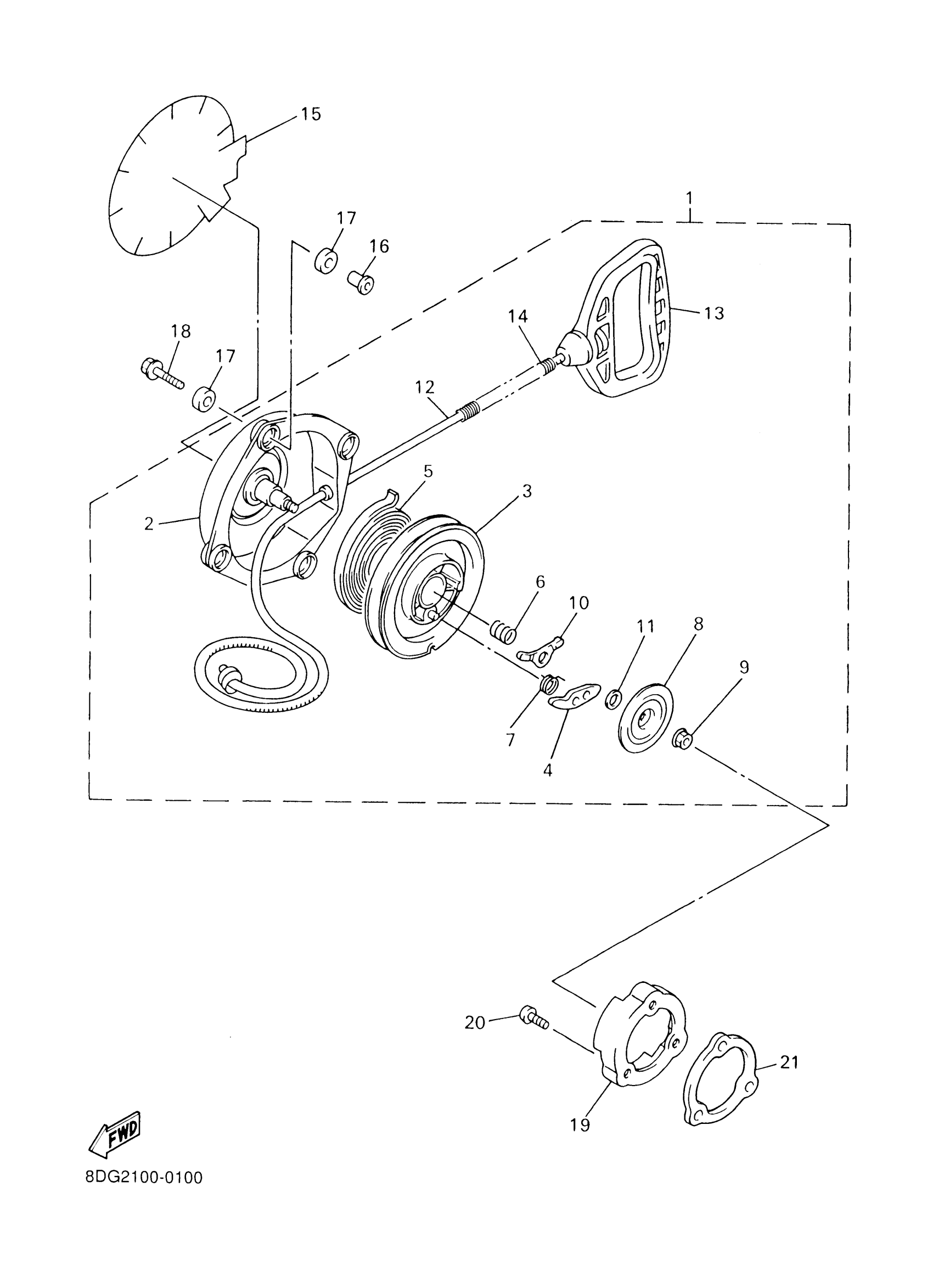
Description
Price
2
. CASE, STARTER
8CH-15711-00-00
Unavailable
3
. DRUM, SHEAVE
8CH-15714-00-00
Unavailable
4
. PAWL, DRIVE
8CH-15741-00-00
Unavailable
6
. SPRING, FRICTION
8CH-15715-00-00
Unavailable
7
. SPRING
8CH-15767-00-00
Unavailable
8
PLATE, DRIVE
8CH-15716-00-00
Unavailable
10
. GUIDE, CAM
8CH-15735-00-00
Unavailable
11
. WASHER, THRUST
8CH-15739-00-00
Unavailable
14
. PROTECTOR, PIPE
85L-24327-00-00
Unavailable
15
COVER, STARTER CASE
8CH-15712-00-00
Unavailable
16
COLLAR
90387-08071-00
Unavailable
17
BUSH (8M6)
90385-12036-00
Unavailable
18
BOLT, WITH WASHER
90119-08240-00
Unavailable
19
PULLEY, STARTER
8DF-15723-00-00
Unavailable
20
BOLT, BUTTON
92017-08020-00
Unavailable
21
SPACER
8DG-15724-00-00
Unavailable
