Yamaha VX700C (VMAX 700) 8DS2 1999 CRANKCASE Diagram
#
Description
Price
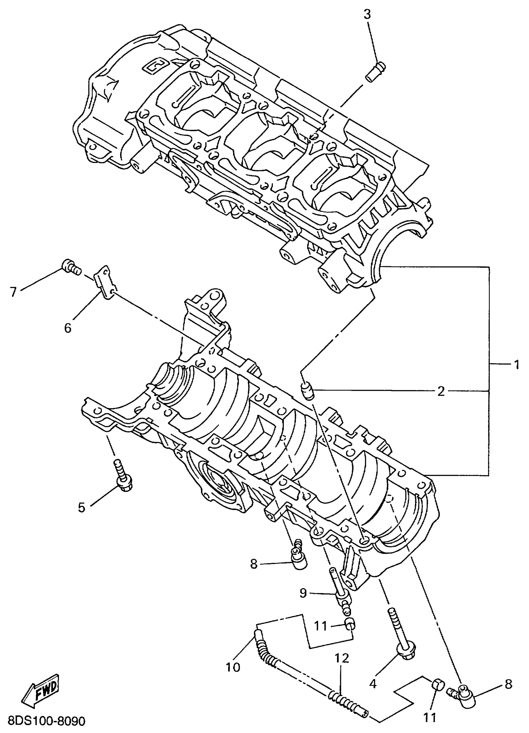
1
CRANKCASE ASSY
8CH-15100-03-00
Unavailable
6
CLAMP
90461-12145-00
Unavailable
9
NOZZLE
8CH-13552-00-00
Unavailable
#
1
8CH-15100-03-00
Unavailable
6
90461-12145-00
Unavailable
9
8CH-13552-00-00
Unavailable
Edit ride
