- Partiron
- OEM Parts
- Yamaha
- snowmobile
- 1998
- VX600XTRB (VMAX 600 XTR (ELEC START+REVERSE)) BH20500 1998
ELECTRICAL 2
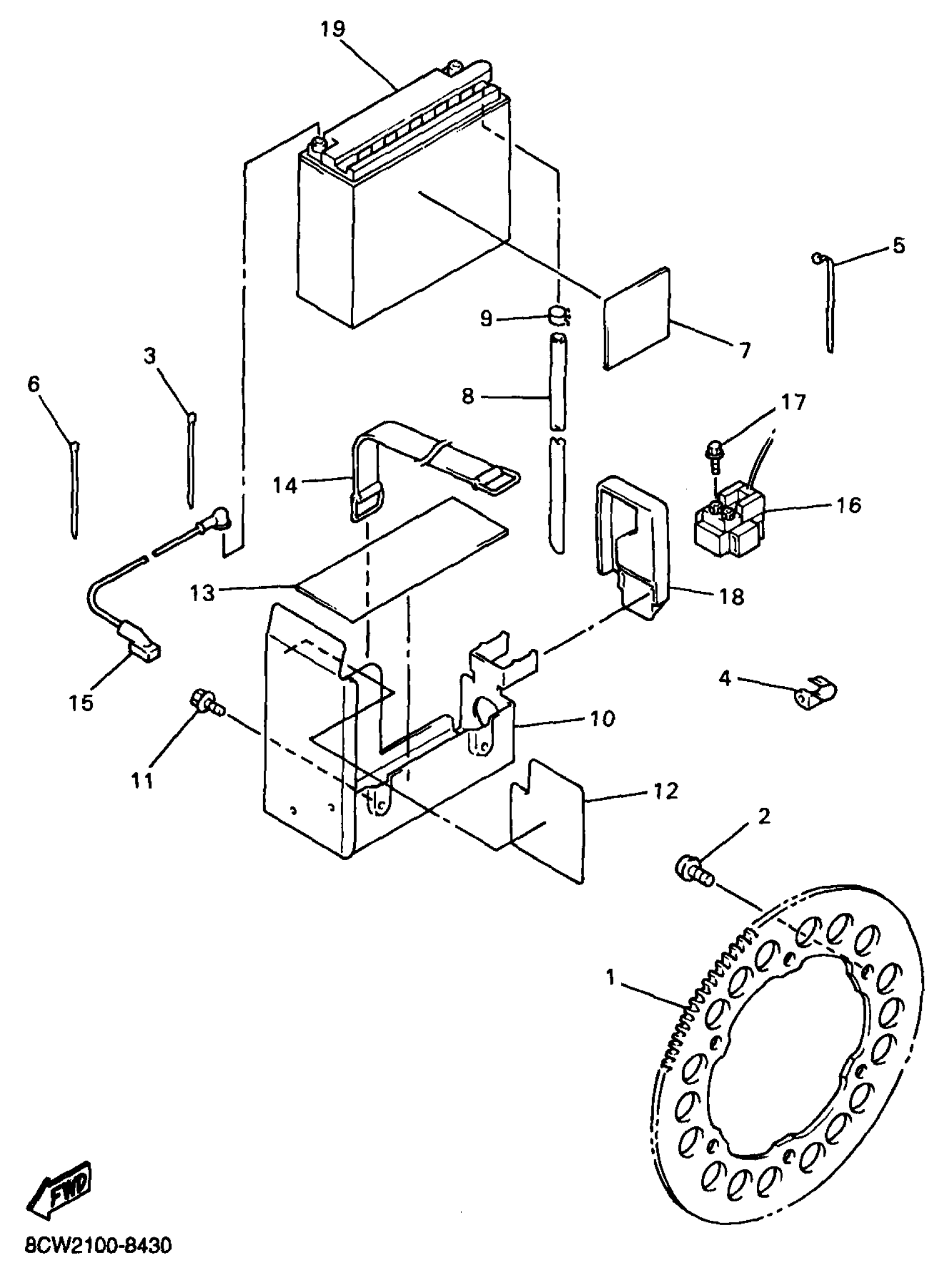
Yamaha VX600XTRB (VMAX 600 XTR (ELEC START+REVERSE)) BH20500 1998 ELECTRICAL 2 Diagram
#
Description
Price
1
GEAR 1
8DM-1760A-18-00
Unavailable
4
. CLAMP
90465-10381-00
Unavailable
7
DAMPER
8CW-82176-00-00
Unavailable
8
PIPE (L320)
8CW-8235W-01-00
Unavailable
10
. BRACKET, BATTERY
8CW-2199G-00-00
Unavailable
11
BOLT, FLANGE
95817-06014-00
Unavailable
12
. SHIELD, HEAT
8CW-2199H-00-00
Unavailable
15
. WIRE, PLUS LEAD
8CW-82115-00-00
Unavailable
16
STARTER RELAY ASSY (RC19-016)
3EL-81940-02-00
Unavailable
17
BOLT, SMALL FLANGE
95027-06008-00
Unavailable
18
. COVER, TERMINAL
8DM-81916-00-00
Unavailable
19
YB16ALA2 YUASA BATTERY
YB1-6ALA2-00-00
Unavailable
