Yamaha VX600XTCRA (VMAX 600 XTC (REVERSE)) 8DB1 1997 WINDSHIELD Diagram
#
Description
Price
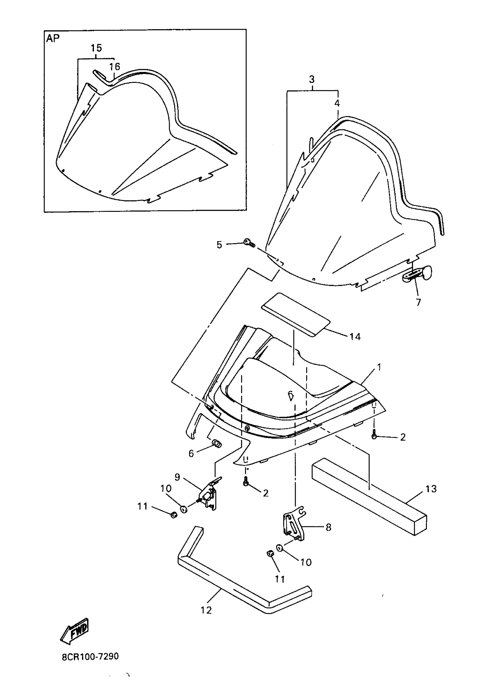
3
WINDSHIELD, VMAX
8CR-77210-00-XX
Unavailable
4
TRIM,UPPER
87K-77213-00-00
Unavailable
8
STAY 1
8CR-77125-00-00
Unavailable
9
STAY 2
8CR-77126-00-00
Unavailable
12
DAMPER, NOISE 19
8CR-77279-00-00
Unavailable
14
LABEL, WARNING 1
8DB-77761-00-00
Unavailable
15
WINDSHIELD COMP. (8CV-77210-00-00)
8CV-77210-00-XX
Unavailable
16
TRIM,UPPER
87K-77213-00-00
Unavailable
