- Partiron
- OEM Parts
- Yamaha
- snowmobile
- 1997
- VX600XTCRA (VMAX 600 XTC (REVERSE)) 8DB1 1997
ELECTRICAL 2
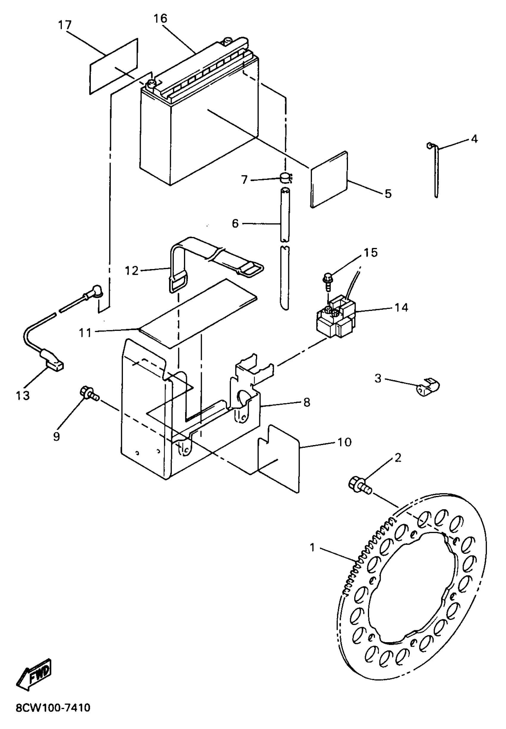
Yamaha VX600XTCRA (VMAX 600 XTC (REVERSE)) 8DB1 1997 ELECTRICAL 2 Diagram
#
Description
Price
1
GEAR 1
8DM-1760A-18-00
Unavailable
3
. CLAMP
90465-10381-00
Unavailable
5
DAMPER
8CW-82176-00-00
Unavailable
6
PIPE (L320)
8CW-8235W-01-00
Unavailable
8
. BRACKET, BATTERY
8CW-2199G-00-00
Unavailable
9
BOLT, FLANGE
95817-06014-00
Unavailable
10
. SHIELD, HEAT
8CW-2199H-00-00
Unavailable
13
. WIRE, PLUS LEAD
8CW-82115-00-00
Unavailable
16
YB16ALA2 YUASA BATTERY
YB1-6ALA2-00-00
Unavailable
17
LABEL, BATTERY
40A-82141-G0-00
Unavailable
