Partiron

Yamaha VX600XTCRA (VMAX 600 XTC (REVERSE)) 8DB1 1997 ALTERNATE ELECTRICAL Diagram

#

Description
Price

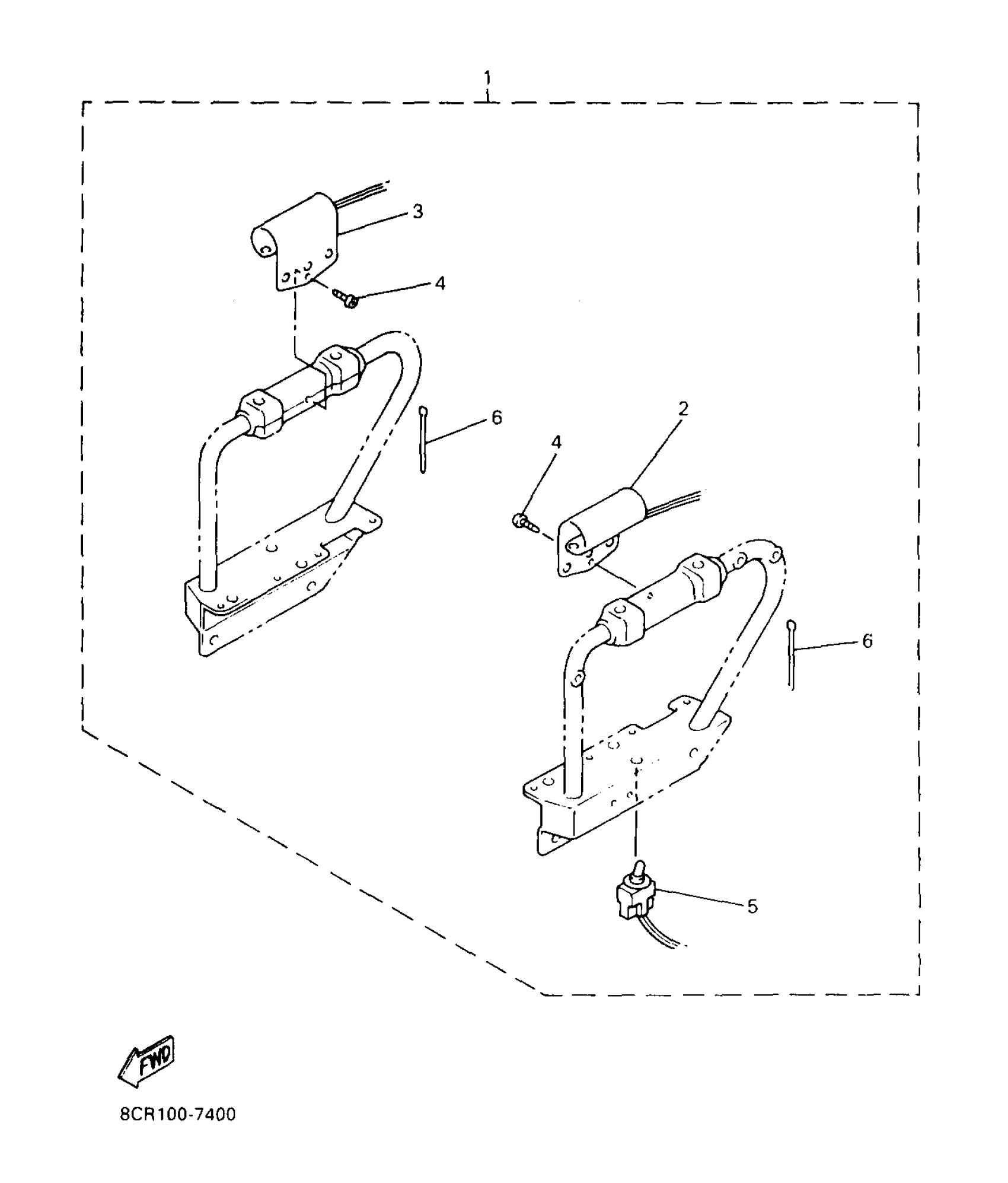
1

ASSIST GRIP WARMER SET

8CR-W247G-00-00

Unavailable

2

ASSIST GRIP WARMER ASSY 1

8CW-2474B-00-00

Unavailable

3

. ASSIST GRIP WARMER ASSY 2

8CW-2474C-00-00

Unavailable

4

SCREW, TAPPING(4MV)

97707-50016-00

$2.19

5

SWITCH

8JD-82917-00-00

$90.99

6

CLAMP(4FM)

90464-15195-00

$4.41