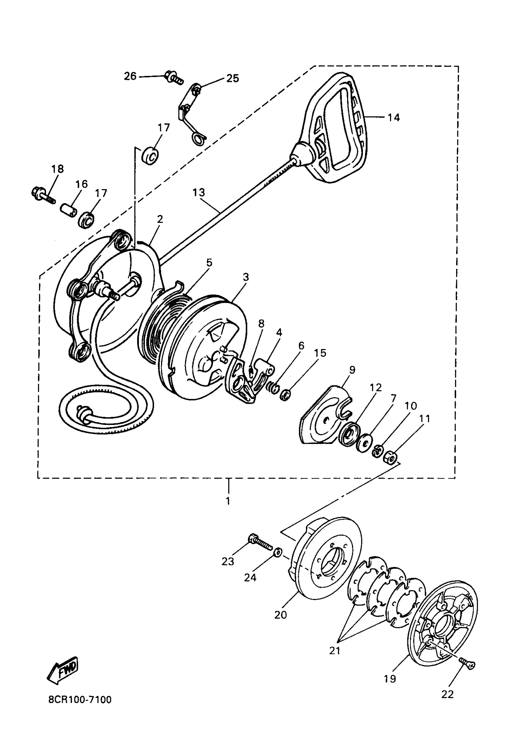
Yamaha VX600XTCEA (VMAX 600 XTC (ELEC START)) 8CX1 1997 STARTER Diagram
#
Description
Price
1
STARTER ASSY
84M-15710-01-00
Unavailable
2
. CASE, STARTER
82M-15711-00-00
Unavailable
9
. PLATE, DRIVE
82M-15716-00-00
Unavailable
10
WASHER, SPRING
92995-06100-00
Unavailable
16
COLLAR
90387-063E9-00
Unavailable
17
BUSH (8M6)
90385-12036-00
Unavailable
18
BOLT, WITH WASHER(89J)
90119-06211-00
Unavailable
19
PULLEY 1
8CA-12618-00-00
Unavailable
20
PULLEY, STARTER
8CA-15723-00-00
Unavailable
21
SHIM
8CA-15721-00-00
Unavailable
21
SHIM
8CA-15721-00-00
Unavailable
22
SCREW, FLAT HEAD(4EM)
98707-06016-00
Unavailable
23
BOLT, HEXAGON
97017-08030-00
Unavailable
24
WASHER(6TA)
92907-08600-00
Unavailable
25
GUIDE, ROPE
8CR-15758-00-00
Unavailable
26
BOLT, FLANGE
95817-06012-00
Unavailable
