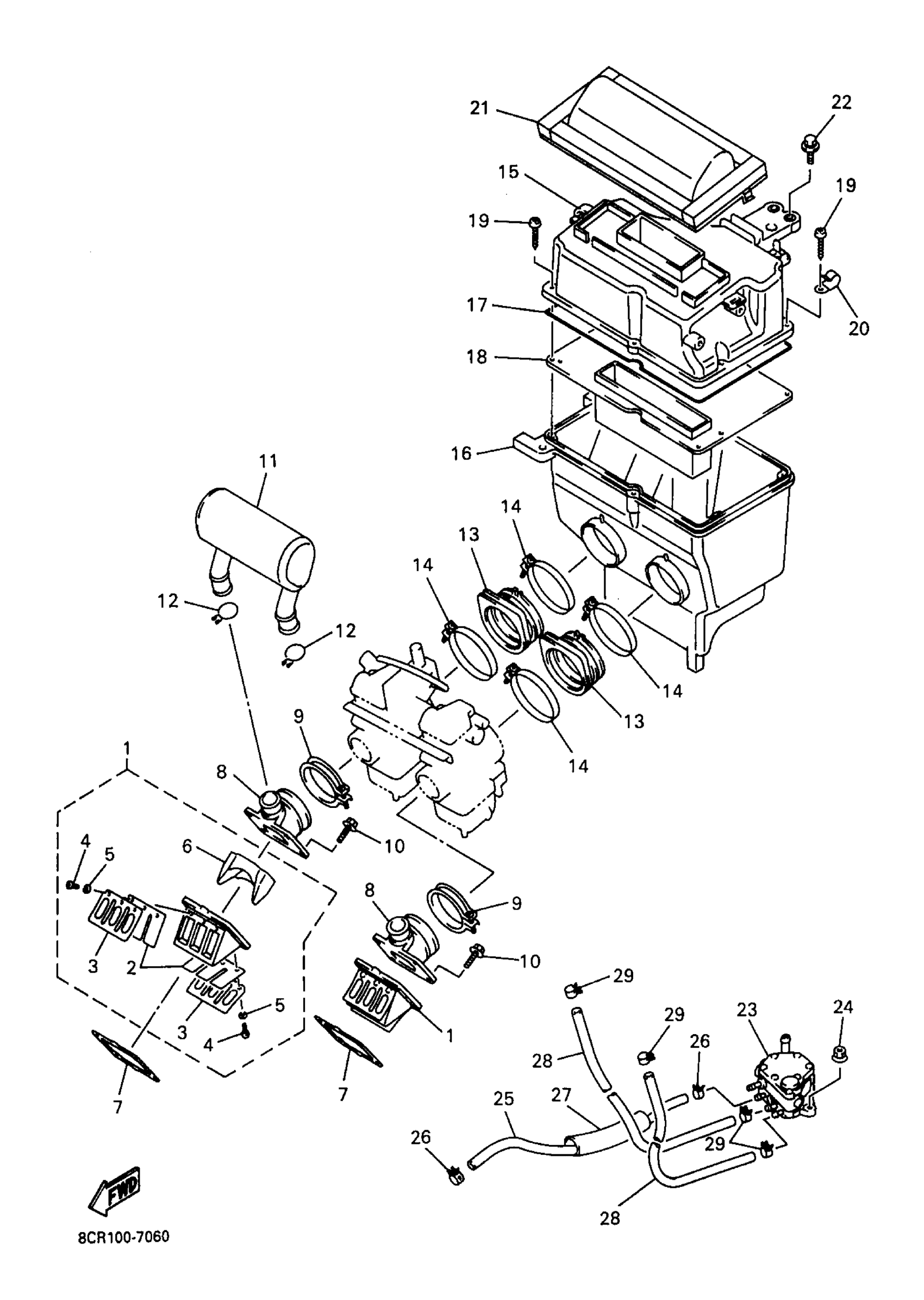
Yamaha VX600XTCA (VMAX 600 XTC) 8CX1 1997 INTAKE Diagram
#
Description
Price
1
REED VALVE ASSY
4DA-13610-01-00
Unavailable
6
. SPACER, REED VALVE
4DA-13625-00-00
Unavailable
8
MANIFOLD, INTAKE
8CR-13555-00-00
Unavailable
11
CHAMBER, AIR
8CR-13581-00-00
Unavailable
13
JOINT, AIR CLEANER 1
8CR-14453-00-00
Unavailable
15
SILENCER, INTAKE 1
8CR-14431-01-00
Unavailable
16
SILENCER, INTAKE 2
8CR-14441-01-00
Unavailable
17
SEAL
51Y-14462-00-00
Unavailable
18
PLATE
8CR-14477-00-00
Unavailable
19
SCREW, TAPPING(82M)
90167-05043-00
Unavailable
20
CLAMP
90465-08028-00
Unavailable
21
ELEMENT ASSY, AIR CLEANER
8CR-14450-00-00
Unavailable
22
BOLT, WITH WASHER(3FC)
90119-06163-00
Unavailable
23
FUEL PUMP ASSY
8CR-24410-01-00
Unavailable
24
NUT, FLANGE(4MV)
95707-06500-00
Unavailable
25
HOSE (L450)
90445-10144-00
Unavailable
26
CLIP (3G0)
90467-10039-00
Unavailable
27
HOSE (L150)
90445-226J7-00
Unavailable
28
TUBE, FLEXIBLE VINYL(8AU)
91A20-05039-00
Unavailable
29
CLIP (8A1)
90467-09026-00
Unavailable
