Partiron

Yamaha VX600XTCA (VMAX 600 XTC) 8CX1 1997 ALTERNATE GRIP WARMER SET Diagram

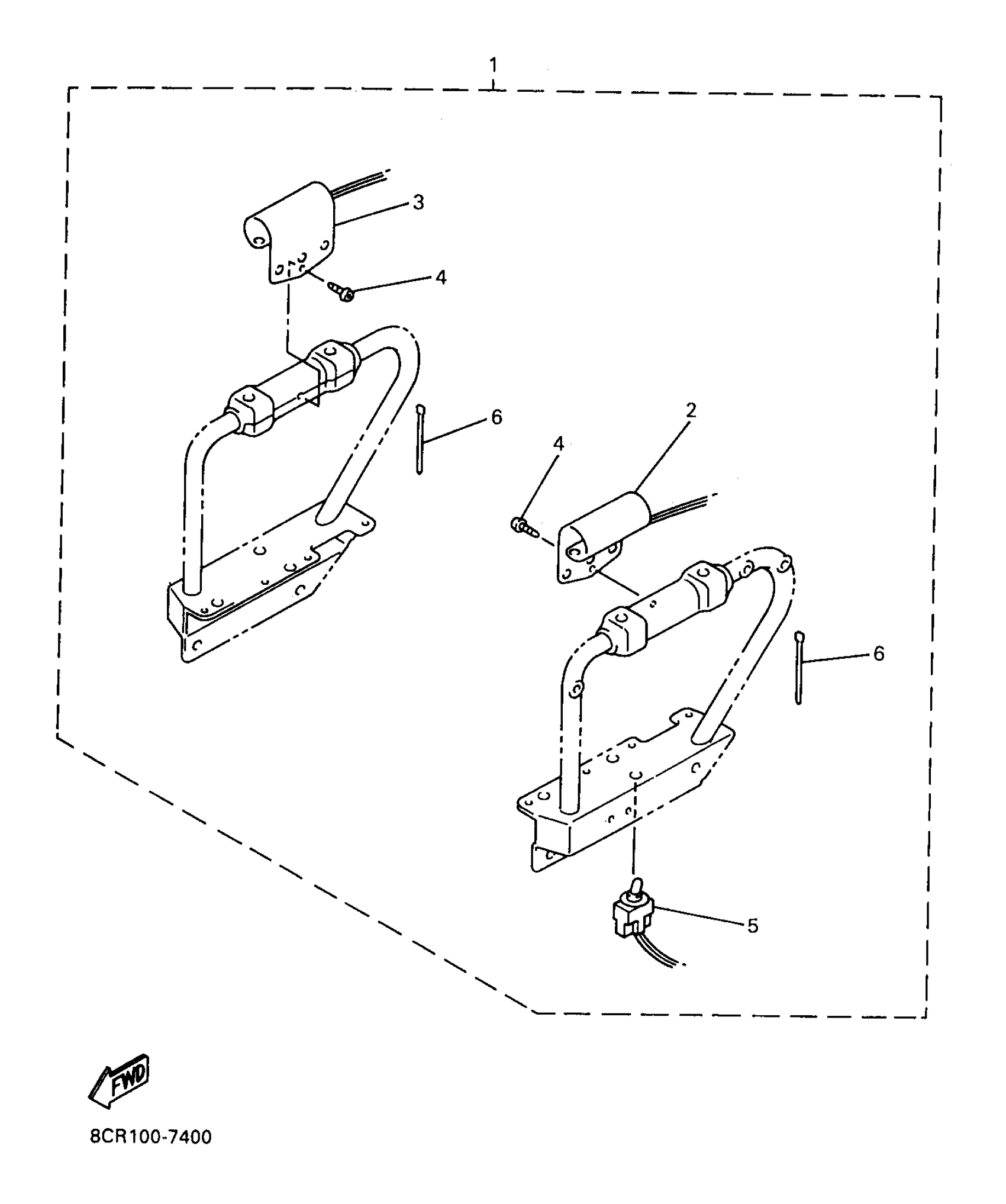
#

Description
Price

1

ASSIST GRIP WARMER SET

8CR-W247G-00-00

Unavailable

2

ASSIST GRIP WARMER ASSY 1

8CW-2474B-00-00

Unavailable

3

. ASSIST GRIP WARMER ASSY 2

8CW-2474C-00-00

Unavailable

4

SCREW, TAPPING(4MV)

97707-50016-00

$2.19

5

SWITCH

8JD-82917-00-00

$90.99

6

CLAMP(4FM)

90464-15195-00

$4.41