- Partiron
- OEM Parts
- Yamaha
- snowmobile
- 1998
- VX600XTB (VMAX 600 XT) BH20499 1998
SECONDARY SHEAVE
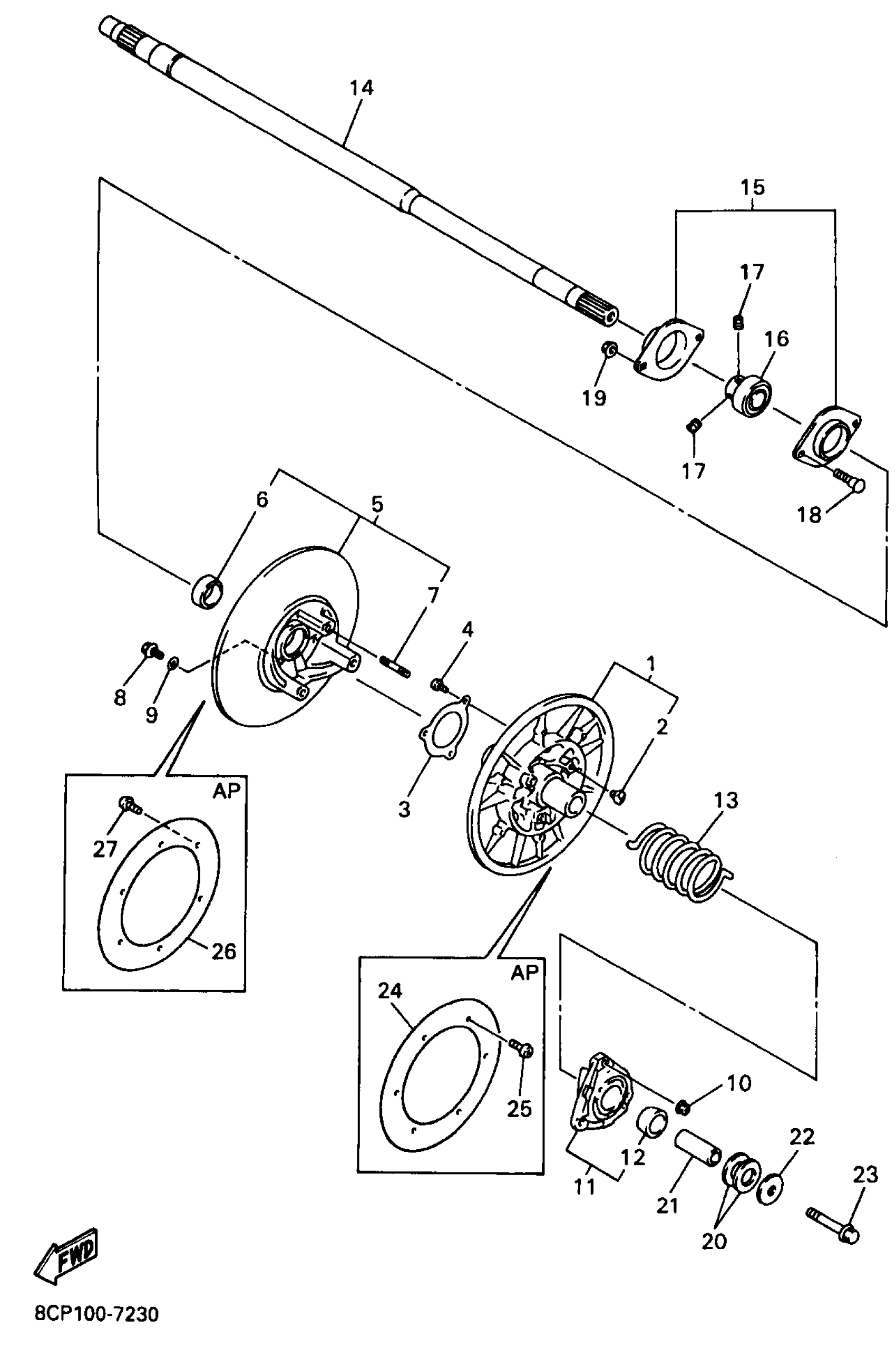
Yamaha VX600XTB (VMAX 600 XT) BH20499 1998 SECONDARY SHEAVE Diagram
#
Description
Price
1
SECONDARY FIXED SHEAVE COMP.
8CR-17660-20-00
Unavailable
5
SECONDARY SLIDING SHEAVE
8BU-17670-20-00
Unavailable
11
SEAT SPRING SET
8BV-17604-11-00
Unavailable
11
SEAT SPRING SET
8BV-17604-50-00
Unavailable
11
SEAT SPRING SET
8BV-17604-71-00
Unavailable
11
SEAT SPRING SET
8BV-17604-91-00
Unavailable
13
SPRING, TORSION(8BF)
90508-500B1-00
Unavailable
13
SPRING, TORSION(8AB)
90508-536A9-00
Unavailable
13
SPRING, TORSION(8BN)
90508-556A2-00
Unavailable
13
SPRING, TORSION(8BT)
90508-556A7-00
Unavailable
14
SHAFT, SECONDARY
8CR-17681-10-00
Unavailable
15
HOUSING, BEARING
8CR-47631-01-00
Unavailable
16
BEARING(8CJ)
93399-99943-00
Unavailable
17
BOLT, SET
90113-06006-00
Unavailable
18
BOLT(8CJ)
90109-083G2-00
Unavailable
19
NUT, FLANGE(JN5)
95707-08500-00
Unavailable
20
WASHER, PLATE (T=0.5)
90201-222F0-00
Unavailable
20
WASHER, PLATE (8L8)
90201-225A4-00
Unavailable
21
COLLAR
90387-14019-00
Unavailable
22
WASHER, PLATE
90201-14022-00
Unavailable
23
BOLT, WASHER BASED(8CJ)
90105-14766-00
Unavailable
24
PLATE 1
8CM-17665-00-00
Unavailable
25
GASKET, EXHAUST
98507-05008-00
Unavailable
26
PLATE 2
8CM-17675-00-00
Unavailable
27
GASKET, EXHAUST
98507-05008-00
Unavailable
