- Partiron
- OEM Parts
- Yamaha
- snowmobile
- 1998
- VX600XTB (VMAX 600 XT) BH20499 1998
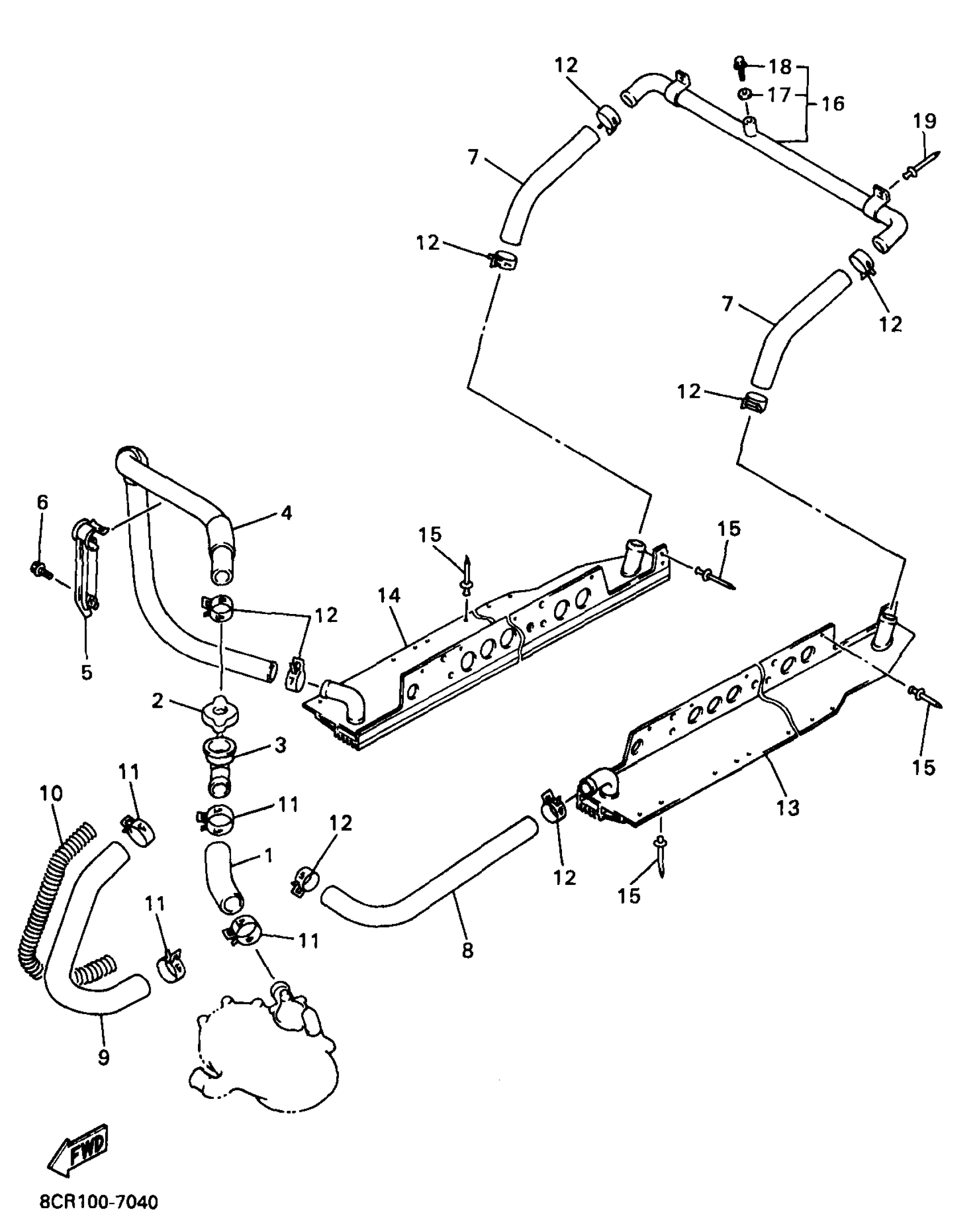
RADIATOR HOSE
Yamaha VX600XTB (VMAX 600 XT) BH20499 1998 RADIATOR HOSE Diagram
#
Description
Price
1
PIPE 2
8CR-12482-00-00
Unavailable
3
SUPT, FILLER NECK
8CR-12591-00-00
Unavailable
4
PIPE 3
8CR-12483-00-00
Unavailable
5
CLAMP 1
8CR-12491-00-00
Unavailable
6
BOLT, FLANGE
95817-06014-00
Unavailable
7
PIPE 4
8CR-12484-00-00
Unavailable
8
PIPE 5
8CR-12485-00-00
Unavailable
9
PIPE 6
8CR-12476-00-00
Unavailable
10
SPRING, COMPRESSION
90501-120K6-00
Unavailable
13
HEAT EXCHANGER
8CR-1240E-03-00
Unavailable
14
HEAT EXCHANGER
8CR-1240F-03-00
Unavailable
16
HEAT EXCHANGER ASY
8CR-1241A-01-00
Unavailable
17
GASKET (4V2)
90430-06166-00
Unavailable
18
BOLT, FLANGE
95817-06016-00
Unavailable
