- Partiron
- OEM Parts
- Yamaha
- snowmobile
- 1997
- VX600XTA (VMAX 600 XT) 8CR1 1997
GUARD LUGGAGE BOX
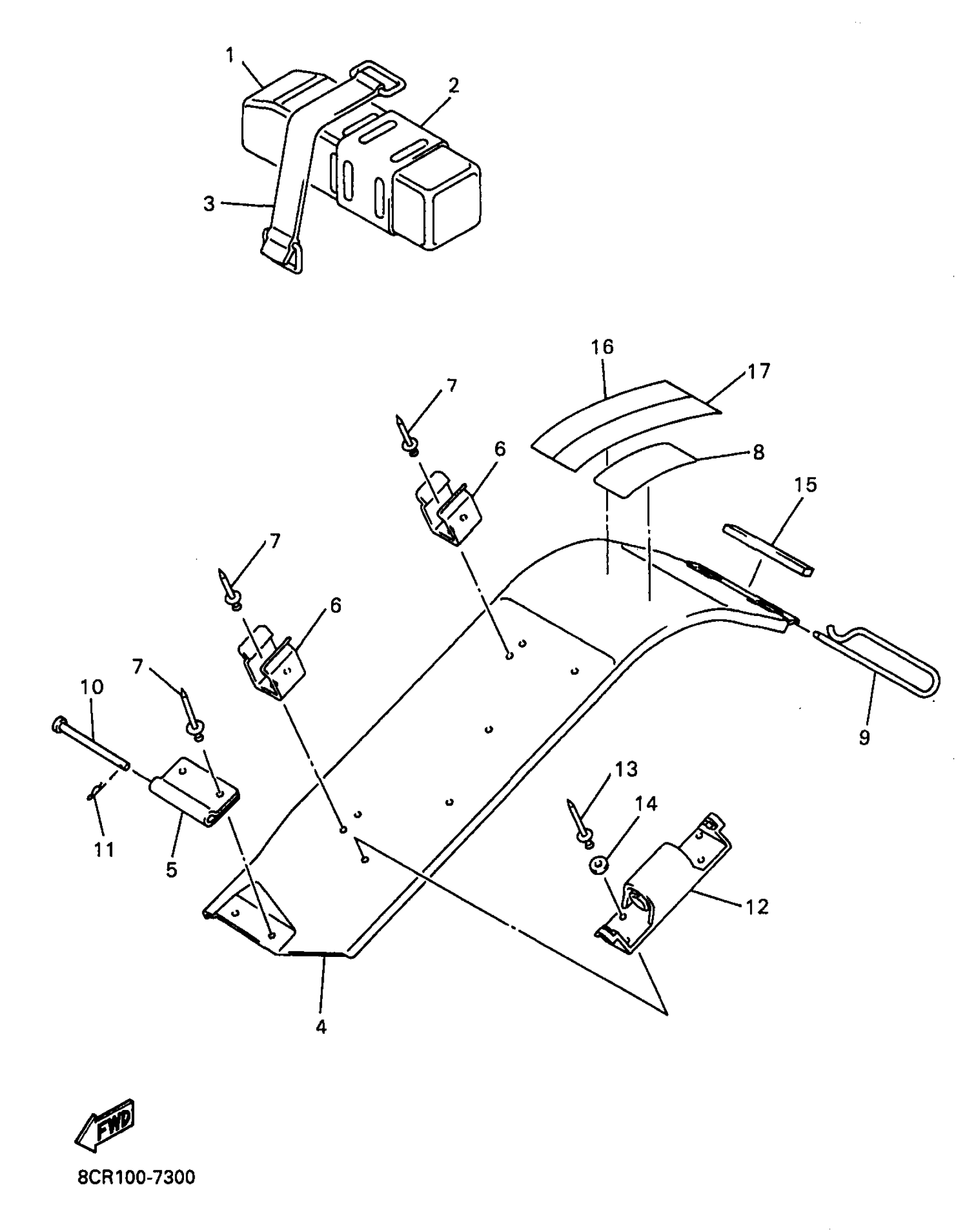
Yamaha VX600XTA (VMAX 600 XT) 8CR1 1997 GUARD LUGGAGE BOX Diagram
#
Description
Price
1
TOOL KIT
8CR-28100-00-00
Unavailable
2
TOOL BOX COMP.
4GY-21107-00-00
Unavailable
4
GUARD, DRIVE
8CR-77311-10-00
Unavailable
5
BRACKET 1
8CR-77315-00-00
Unavailable
14
. WASHER, PLATE (90201-04325-00 )
90201-044R6-00
Unavailable
16
LABEL, CAUTION
8CR-1417E-00-00
Unavailable
17
LABEL 1
8CR-47578-00-00
Unavailable
