- Partiron
- OEM Parts
- Yamaha
- snowmobile
- 1996
- VX600STW (VMAX 600 MOUNTAIN MAX) 1996
SECONDARY SHEAVE
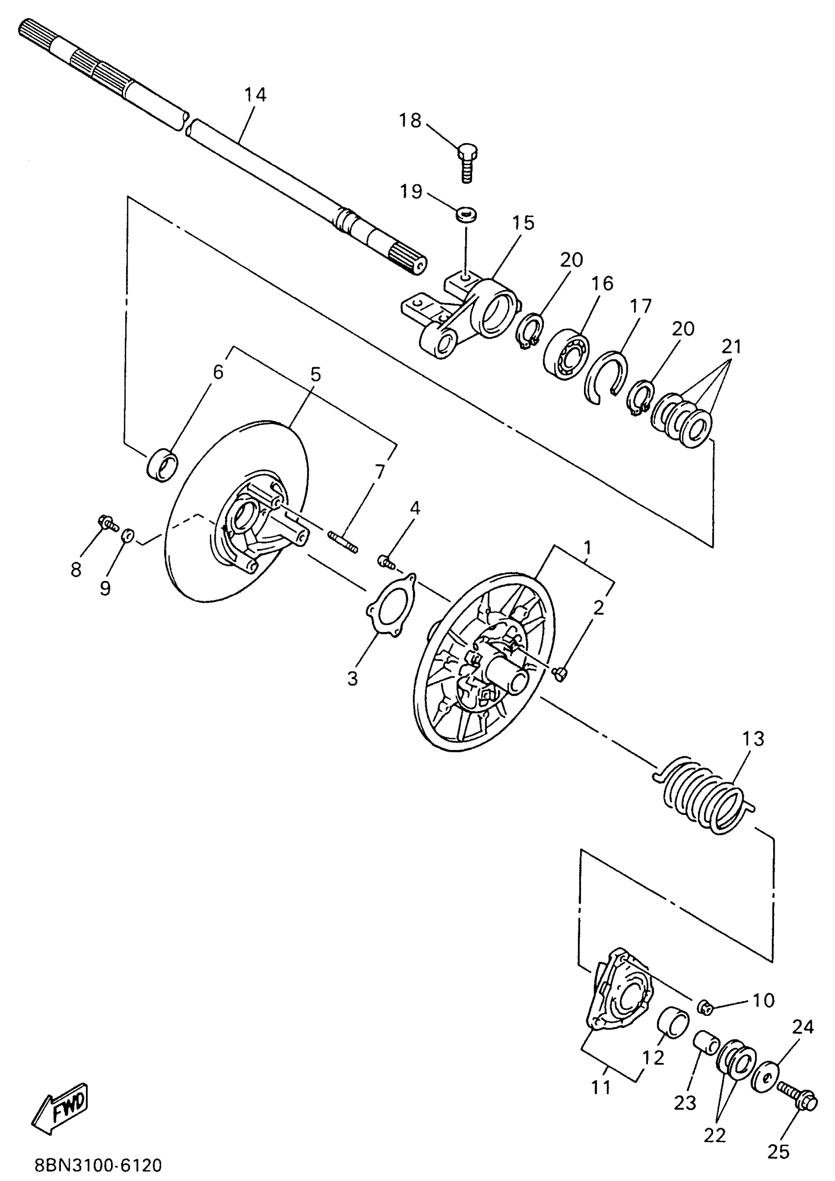
Yamaha VX600STW (VMAX 600 MOUNTAIN MAX) 1996 SECONDARY SHEAVE Diagram
#
Description
Price
1
SECONDARY FIXED SHEAVE COMP.
8BV-17660-10-00
Unavailable
5
SECONDARY SLIDING SHEAVE
8BV-17670-10-00
Unavailable
11
SEAT SPRING SET
8BV-17604-11-00
Unavailable
11
SEAT SPRING SET
8BV-17604-91-00
Unavailable
13
SPRING, TORSION(8BF)
90508-500B1-00
Unavailable
13
SPRING, TORSION(8AB)
90508-536A9-00
Unavailable
13
SPRING, TORSION(8BN)
90508-556A2-00
Unavailable
13
SPRING, TORSION(8BT)
90508-556A7-00
Unavailable
14
SHAFT, SECONDARY
8CM-17681-00-00
Unavailable
15
HOUSING, BEARING
8AB-47631-00-00
Unavailable
16
BEARING(83R)
93306-20582-00
Unavailable
17
CIRCLIP(26H)
99009-52500-00
Unavailable
18
BOLT, HEXAGON
97017-08020-00
Unavailable
19
WASHER(6TA)
92907-08600-00
Unavailable
20
CIRCLIP (256)
93410-25017-00
Unavailable
21
WASHER, PLATE (8R6)
90201-252F1-00
Unavailable
21
WASHER, PLATE (888)
90201-25526-00
Unavailable
21
WASHER, PLATE (888)
90201-25527-00
Unavailable
22
WASHER, PLATE (T=0.5)
90201-222F0-00
Unavailable
22
WASHER, PLATE (8L8)
90201-225A4-00
Unavailable
23
COLLAR
90387-1405J-00
Unavailable
24
WASHER, PLATE(42X)
90201-105H3-00
Unavailable
25
BOLT, WASHER BASED
90105-10741-00
Unavailable
