- Partiron
- OEM Parts
- Yamaha
- snowmobile
- 1996
- VX600STW (VMAX 600 MOUNTAIN MAX) 1996
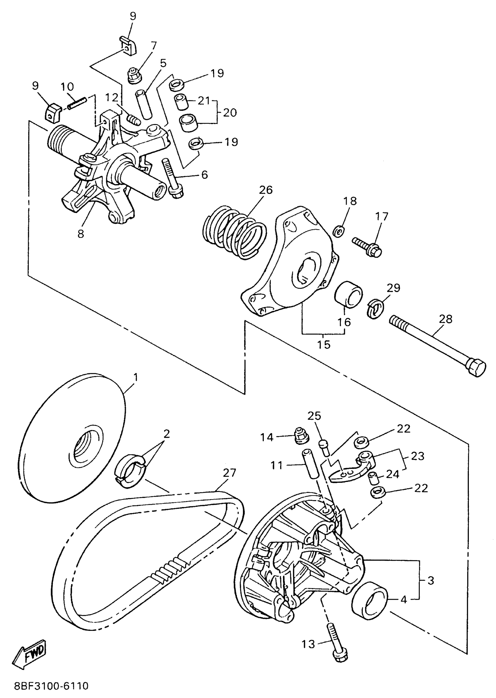
PRIMARY SHEAVE
Yamaha VX600STW (VMAX 600 MOUNTAIN MAX) 1996 PRIMARY SHEAVE Diagram
#
1
SHEAVE, PRIMARY FIXED
8BV-17611-19-00
Unavailable
8
SPIDER COMP.
8CA-17640-12-00
Unavailable
15
PRIMARY SHEAVE CAP COMP.
8BV-17630-12-00
Unavailable
16
. BUSH, BIMETAL FORMED
90384-28244-00
Unavailable
17
BOLT, HEXAGON
97017-06030-00
Unavailable
18
WASHER(6TA)
92907-06600-00
Unavailable
19
WASHER, PLATE(8BV)
90202-09227-00
Unavailable
20
ROLLER, COMP
8CR-17624-10-00
Unavailable
20
ROLLER, COMP
8CR-17624-20-00
Unavailable
20
ROLLER, COMP
8CR-17624-00-00
Unavailable
21
ROLLER BUSH
90380-09239-00
Unavailable
22
WASHER, PLATE(88R)
90202-08204-00
Unavailable
23
WEIGHT COMP
8CA-17605-01-00
Unavailable
24
. BUSH, SOLID
90380-08244-00
Unavailable
25
RIVET. COUNTERSUNK HEAD(8AK)
90261-06015-00
Unavailable
25
RIVET, COUNTER SUNK (8G8)
90261-06017-00
Unavailable
25
RIVET, COUNTERSUNK HEAD (8K8)
90261-06019-00
Unavailable
25
RIVET, COUNTERSUNK HEAD(88R)
90261-06028-00
Unavailable
25
RIVET, COUNTERSUNK (8AB1)
90261-06033-00
Unavailable
25
RIVET, COUNTERSUNK HEAD(8AB)
90261-06034-00
Unavailable
26
SPRING, COMPRESSION(89L)
90501-521J6-00
Unavailable
26
PRIMARY SPRING
90501-525J8-00
Unavailable
26
SPRING, COMPRESSION(8BH)
90501-526J9-00
Unavailable
26
SPRING, COMPRESSION(8AV)
90501-550J8-00
Unavailable
26
SPRING, COMPRESSION(8AY)
90501-582J1-00
Unavailable
26
SPRING, COMPRESSION(8CG)
90501-585J3-00
Unavailable
26
SPRING, COMPRESSION(8AY)
90501-602J0-00
Unavailable
26
SPRING, COMPRESSION(8CG)
90501-605J5-00
Unavailable
27
V-BELT
89L-17641-02-00
Unavailable
28
BOLT (L=156.5MM)
8V0-17647-10-00
Unavailable
29
WASHER(JN5)
92907-16100-00
Unavailable
