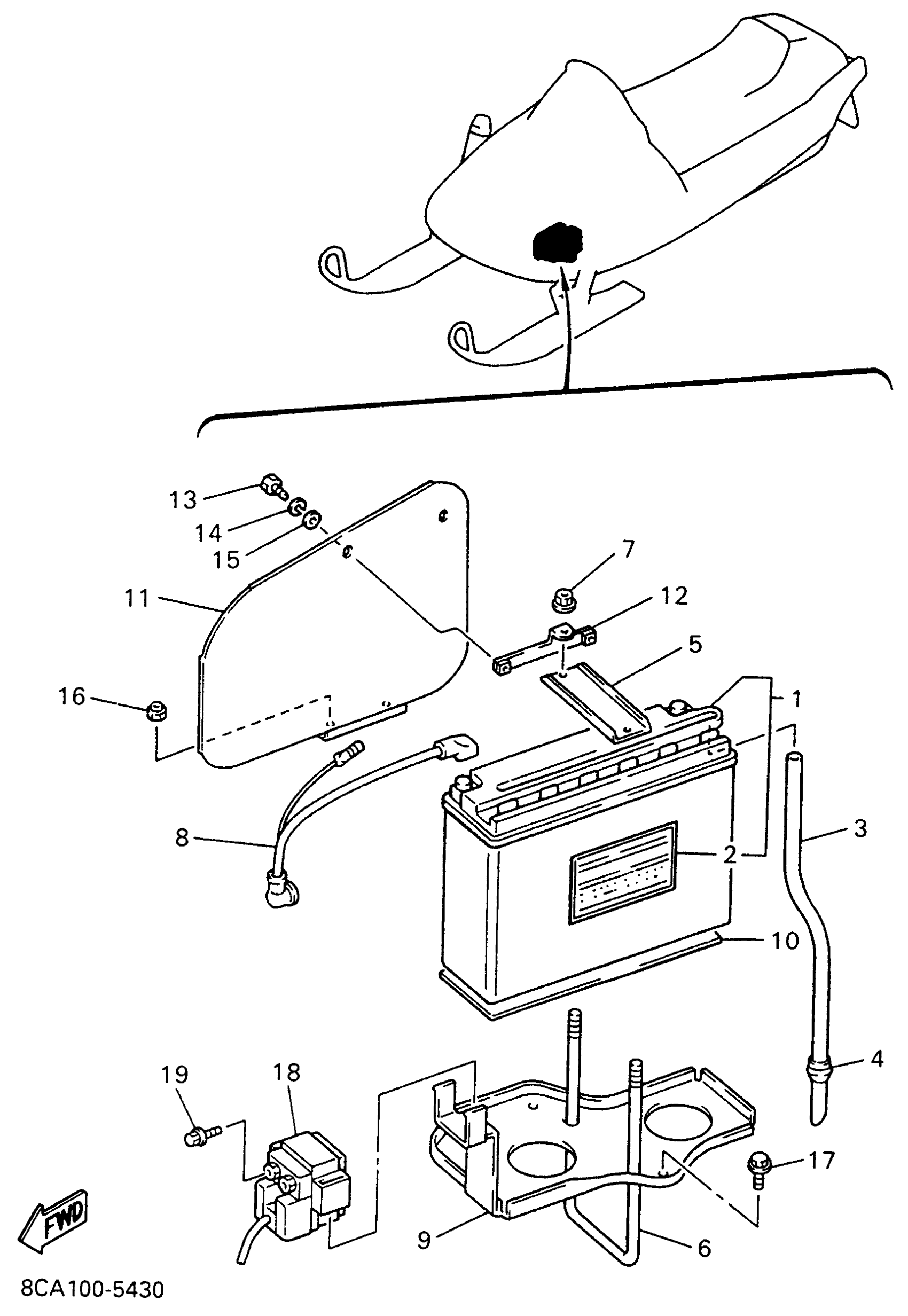
Yamaha VX600EW (VMAX 600 LE (ELEC START)) 1996 ELECTRICAL 2 Diagram
#
Description
Price
1
YB16ALA2 YUASA BATTERY
YB1-6ALA2-00-00
Unavailable
2
LABEL, BATTERY
40A-82141-G0-00
Unavailable
3
HOSE
90445-086H3-00
Unavailable
4
GROMMET(3AA)
90480-12497-00
Unavailable
5
. PLATE, BATTERY FITTING
84N-82136-00-00
Unavailable
6
. SCREW, FITTING
84N-82133-00-00
Unavailable
8
WIRE PLUS LEAD
84N-82115-00-00
Unavailable
9
BRACKET, BATTERY
8CL-2199G-00-00
Unavailable
11
SHIELD, HEAT
84N-2199H-01-00
Unavailable
12
. BRACKET, BATTERY
8V0-82128-00-00
Unavailable
13
BOLT
97027-05010-00
Unavailable
16
NUT,SELF-LOCKING
95607-06200-00
Unavailable
17
BOLT, FLANGE
95817-06010-00
Unavailable
18
STARTER RELAY ASSY (RC19-004)
4FU-81940-02-00
Unavailable
19
BOLT, SMALL FLANGE
95027-06008-00
Unavailable
