- Partiron
- OEM Parts
- Yamaha
- snowmobile
- 1996
- VX600EW (VMAX 600 LE (ELEC START)) 1996
ALTERNATE REVERSE GEAR KIT
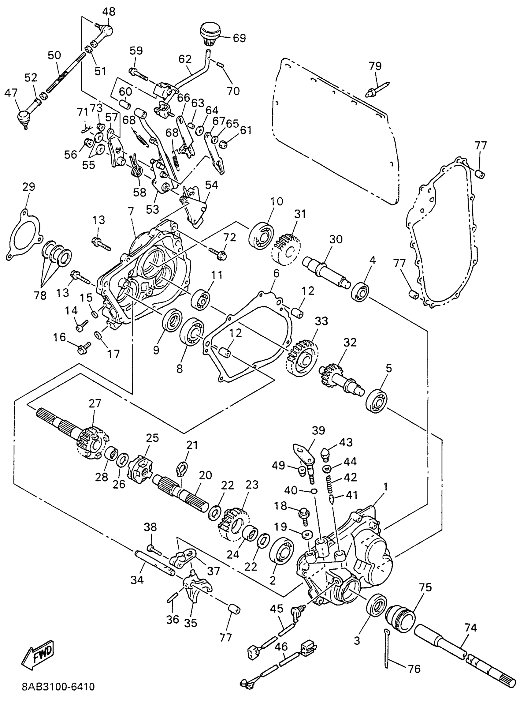
Yamaha VX600EW (VMAX 600 LE (ELEC START)) 1996 ALTERNATE REVERSE GEAR KIT Diagram
#
1
CASE 1
8AB-46291-00-00
Unavailable
2
BEARING (80N)
93306-20570-00
Unavailable
6
GASKET 1
8AB-15455-00-00
Unavailable
7
CASE 2
8AB-46292-01-00
Unavailable
8
BEARING (80N)
93306-20570-00
Unavailable
16
BOLT, FLANGE
95817-08012-00
Unavailable
17
WASHER, SEAL(8AB)
90210-08017-00
Unavailable
18
BOLT, FLANGE(3HP)
95817-10016-00
Unavailable
19
WASHER SEAL 256111730200
90210-10004-00
Unavailable
20
AXLE, MAIN
8AB-17411-00-00
Unavailable
21
CIRCLIP (256)
93410-25017-00
Unavailable
22
WASHER, PLATE(8BB)
90201-250R9-00
Unavailable
23
GEAR, REVERSE PINION 1
8BB-17143-00-00
Unavailable
24
BEARING, CYLINDRICAL
93317-42575-00
Unavailable
25
DOG, TRANSMISSION SHIFT
8BB-17492-00-00
Unavailable
26
WASHER, PLATE(83R)
90201-224L4-00
Unavailable
27
SHAFT
8AB-17523-00-00
Unavailable
28
BEARING, CYLINDRICAL (33A)
93317-32241-00
Unavailable
29
GASKET
8AB-47544-00-00
Unavailable
30
AXLE, IDLE
8AB-17432-00-00
Unavailable
31
GEAR, MIDDLE DRIVEN
8BB-17583-00-00
Unavailable
32
AXLE, COUNTER
8AB-17431-00-00
Unavailable
33
GEAR, REVERSE WHEEL1
8BB-17243-00-00
Unavailable
34
BAR, SHIFT FORK GUIDE 1
8AB-18531-00-00
Unavailable
35
FORK, SHIFT 1
88T-18511-00-00
Unavailable
36
PIN, SPRING (91609-40025-00)
91609-40024-00
Unavailable
37
LEVER
8CL-18191-00-00
Unavailable
38
BOLT,SOCKET
91317-06020-00
Unavailable
39
LEVER, SHIFT 3
8BB-18151-00-00
Unavailable
40
O-RING (1J7)
93210-09350-00
Unavailable
41
PIN
90249-07217-00
Unavailable
42
SPRING, COMPRESSION(88K)
90501-124G3-00
Unavailable
43
PLUG, STRAIGHT SCREW
90340-10136-00
Unavailable
44
WASHER, PLATE(56J)
90201-106H5-00
Unavailable
45
NEUTRAL SWITCH ASSY
4KD-82540-00-00
Unavailable
46
WIRE, SUB-LEAD
87L-82318-01-00
Unavailable
47
JOINT, UNIVERSAL 2
J45-23845-00-00
Unavailable
48
JOINT 2
88T-18157-00-00
Unavailable
49
NUT,SELF-LOCKING
95607-06200-00
Unavailable
50
JOINT, ROD 1
88T-18116-01-00
Unavailable
51
NUT (2H9)
90170-06228-00
Unavailable
52
NUT(JN5)
95317-06700-00
Unavailable
53
ARM, SHIFT
8BB-18112-00-00
Unavailable
54
GUIDE, PLATE STOPPER
8BB-18161-00-00
Unavailable
55
WASHER, PLATE(8AT)
90201-081R9-00
Unavailable
56
NUT, NYLON
95717-08300-00
Unavailable
57
LEVER, SHIFT 2
8BB-18122-00-00
Unavailable
58
SPRING
8BB-18123-00-00
Unavailable
59
BOLT, FLANGE
95817-06035-00
Unavailable
60
. COLLAR
90387-06605-00
Unavailable
61
NUT, NYLON
95707-05300-00
Unavailable
62
LEVER, SHIFT 4
8CL-18152-00-00
Unavailable
63
COLLAR (26H)
90387-053H3-00
Unavailable
64
WASHER PLATE 122217250000
90202-07015-00
Unavailable
65
WASHER, PLATE(39X)
90201-057H5-00
Unavailable
66
GUIDE, SHIFT
8BB-18172-00-00
Unavailable
67
GUIDE, SHIFT RETURN SPRING
8BB-18153-00-00
Unavailable
68
SPRING 214-14683-01
90506-12029-00
Unavailable
69
KNOB, SHIFT LEVER
8CL-18174-00-00
Unavailable
70
PIN,SPRING (648)
91690-40022-00
Unavailable
71
CLIP (7U6)
90468-18121-00
Unavailable
72
BOLT, FLANGE(6TA)
95817-08030-00
Unavailable
73
NUT,SELF-LOCKING
95607-06200-00
Unavailable
74
SHAFT, SECONDARY
8CL-17681-91-00
Unavailable
75
CAP
8CL-47529-01-00
Unavailable
76
BAND
1UA-82591-00-00
Unavailable
78
WASHER, PLATE (248-27226-00)
90201-25289-00
Unavailable
79
RIVET, BLIND (8R6)
90267-48086-00
Unavailable
